Запчасти Case CX210D LC (88.100.35[027]) - DIA KIT, HAMMER CIRCUIT, W/ ELECTRICAL PROPORTIONAL CONTROL, BOOM, LINE (88) - ACCESSORIES

Схема запчастей Case CX210D LC - (88.100.35[027]) - DIA KIT, HAMMER CIRCUIT, W/ ELECTRICAL PROPORTIONAL CONTROL, BOOM, LINE (88) - ACCESSORIES
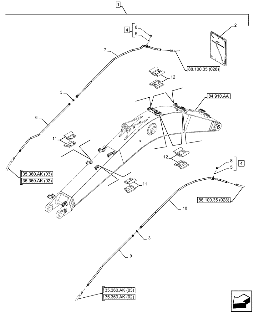
7
2
4
8
11
35.360.ak (02)
12
84.910.aa
5
10
3
4
35.360.ak (03)
11
88.100.35 (028)
3
5
88.100.35 (028)
6
9
35.360.ak (03)
12
8
1
35.360.ak (02)
FIT
1:1
100%

Артикул

Название

Примечание

Количество

1

KG2RP258-00

CONSTRUCTION DIA

Breaker Circuit Proportional Control Kit, Incl 2 - 12

1шт.

To See Full DIA KIT Composition Look for all the Figures Where the DIA KIT P/N Is Shown

1шт.

2

47844466

INSTRUCTION

1шт.

2

47844481

INSTRUCTION

1шт.

3

KHJ1361

O-RING,0.07" Thk x 0.926" ID

2шт.

4

152924A1

PLUG

ASSY, Incl 5, 8

2шт.

5

154503A1

O-RING

2шт.

6

KRV40170

PIPE

34mm ID x 1745mm, Down, RH

1шт.

7

KRV32671

HYD TUBE

34mm ID x 2674mm, Upper, RH

1шт.

8

NSS

NOT SOLD SEPARAT

Fitting, Incl in 4

2шт.

9

KRV40160

PIPE

34mm ID x 1745mm, Down, LH

1шт.

10

KRV32661

HYD TUBE

34mm ID x 2674mm, Upper, LH

1шт.

11

KHV10630

COLLAR CLAMP

4шт.

12

KHV10610

COLLAR CLAMP

8шт.

Выбрано товаров: 14