Запчасти Case CX210D LC (88.100.35[154]) - DIA KIT, HAMMER CIRCUIT, HIGH FLOW, SHEARS, W/ ELECTRICAL PROPORTIONAL CONTROL, DIRECTIONAL CONTROL VALVE, LINE (88) - ACCESSORIES

Схема запчастей Case CX210D LC - (88.100.35[154]) - DIA KIT, HAMMER CIRCUIT, HIGH FLOW, SHEARS, W/ ELECTRICAL PROPORTIONAL CONTROL, DIRECTIONAL CONTROL VALVE, LINE (88) - ACCESSORIES
11
19
9
15
18
6
16
1
5
35.359.ab (01)
12
88.100.35 (156)
20
18
7
9
3
14
12
17
6
8
21
10
2
4
15
13
88.100.35 (152)
FIT
1:1
100%

Артикул

Название

Примечание

Количество

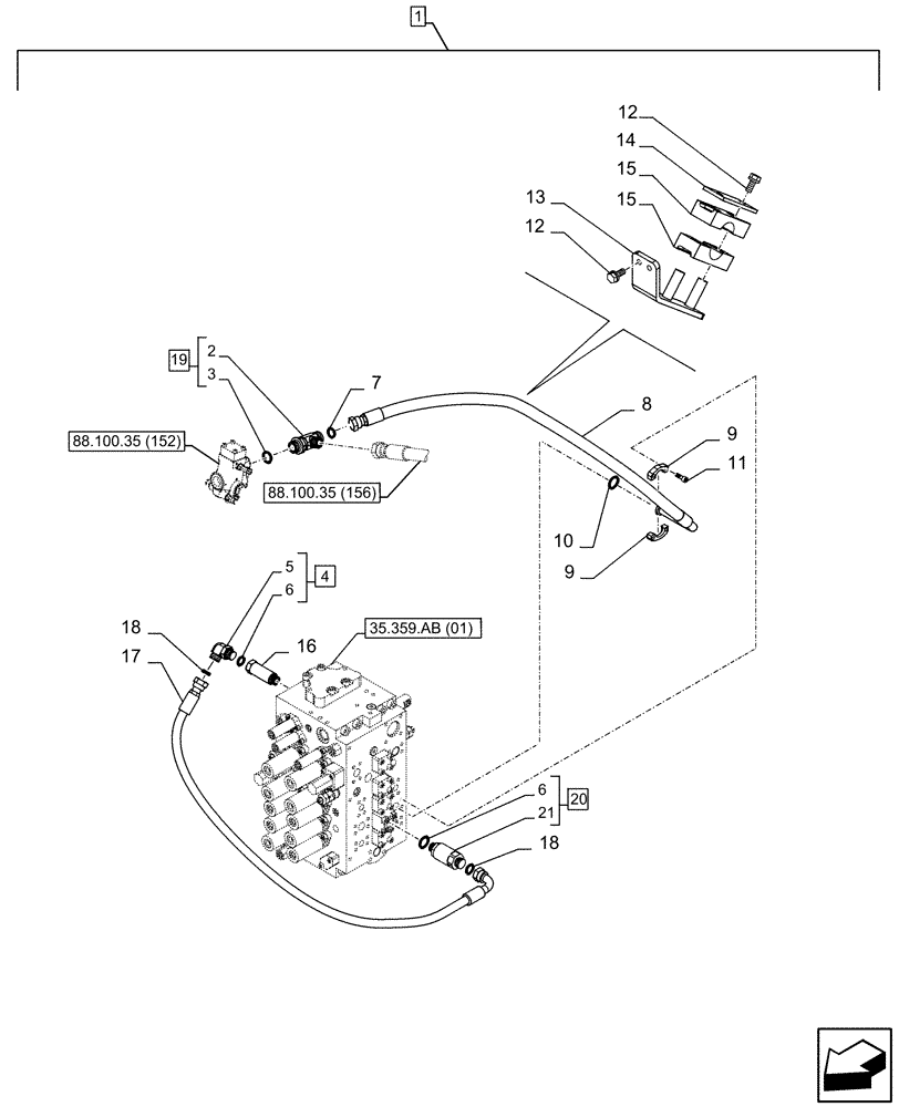
1

KG2RP262-00

CONSTRUCTION DIA

Multi-Purpose with 3 Way Valve, Incl 2 - 21

1шт.

To See Full DIA KIT Composition Look for all the Figures Where the DIA KIT P/N Is Shown

1шт.

2

NSS

NOT SOLD SEPARAT

T-Fitting, Incl in 19

1шт.

3

154523A1

O-RING

1шт.

4

KHJ1804

ELBOW

ASSY, G3/4", Incl 5, 6 (Qty 1)

1шт.

5

NSS

NOT SOLD SEPARAT

90° Fitting, Incl in 4

1шт.

6

154503A1

O-RING

2шт.

7

KHJ1361

O-RING,0.07" Thk x 0.926" ID

1шт.

8

KBJ15660

HYDRAULIC HOSE

25mm ID x 1550mm

1шт.

9

153459A1

FLANGE

2шт.

10

155211A1

O-RING

1шт.

11

862-10030

HEX SOC SCREW,M10 x 30mm, Cl 12.9

M10 x 30mm

4шт.

12

166052A1

BOLT

M10 x 25mm

4шт.

13

KBJ19820

BRACKET

1шт.

14

KRJ10800

PLATE

1шт.

15

KRJ11450

HOSE CLIP

2шт.

16

KHJ26310

STUD

G3/4"

1шт.

17

KBJ19810

HYDRAULIC HOSE

19mm ID x 1200mm

1шт.

18

KHJ1360

O-RING,0.07" Thk x 0.739" ID

2шт.

19

KHJ22660

TEE

ASSY, Incl 2, 3

1шт.

20

KHJ10480

VALVE SECTION

ASSY, Incl 6 (Qty 1), 21

1шт.

21

NSS

NOT SOLD SEPARAT

Valve, Incl in 20

1шт.

Выбрано товаров: 22