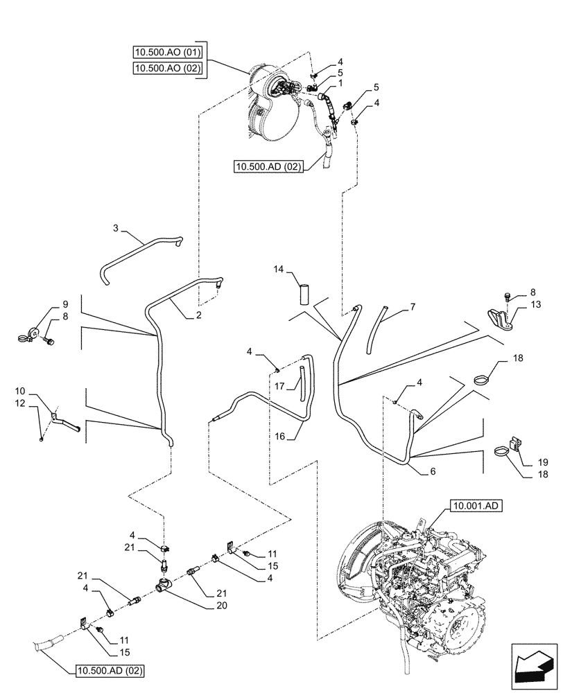
Запчасти Case CX210D LC (10.500.AD[01]) - DEF/ADBLUE™ LINES - BSN NGS7H1297 (10) - ENGINE

Схема запчастей Case CX210D LC - (10.500.AD[01]) - DEF/ADBLUE™ LINES - BSN NGS7H1297 (10) - ENGINE
10.500.ao (01)
17
5
2
9
21
11
6
7
4
15
4
4
20
8
4
1
10
18
15
14
21
4
1
12
4
4
13
8
18
5
3
1
19
16
21
10.500.ad (02)
10.500.ad (02)
10.500.ao (02)
10.001.ad
FIT
1:1
100%

Артикул

Название

Примечание

Количество

1

KRH17370

PIPE

1шт.

2

KHH18010

HOSE

2100mm

1шт.

3

158065A1

PLASTIC-RUBBER TUBE

2000mm

1шт.

4

KHH16800

BAND

6шт.

5

KHH15490

ELBOW

2шт.

6

KHH18020

HOSE

2500mm

1шт.

7

158067A1

PLASTIC-RUBBER TUBE

2400mm

1шт.

8

KHJ1215

BOLT,Spcl

9шт.

9

KHR2584

CLAMP

8шт.

10

KBH12911

BRACKET

1шт.

11

167518A1

BOLT

2шт.

12

166052A1

BOLT

2шт.

13

KHR2581

CLAMP

1шт.

14

KHH17010

INSULATION

1шт.

15

162149A1

COLLAR

2шт.

16

KHH15970

HOSE

1700mm

1шт.

17

KHR13930

PROTECTIVE SLEEVE

1600mm

1шт.

18

150496A1

MOUNTING CLIP

250mm

1шт.

19

KHR10220

MOUNTING CLIP

1шт.

20

152137A1

TEE

1шт.

21

KRR21150

NIPPLE

3шт.

Выбрано товаров: 21