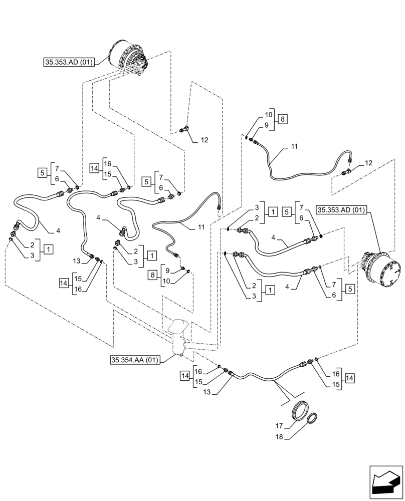
Запчасти Case CX210D LC LR (35.353.AE) - TRAVEL MOTOR & REDUCTION GEAR, LINE (35) - HYDRAULIC SYSTEMS

Схема запчастей Case CX210D LC LR - (35.353.AE) - TRAVEL MOTOR & REDUCTION GEAR, LINE (35) - HYDRAULIC SYSTEMS
14
15
17
7
1
1
7
6
18
14
8
10
12
7
2
7
35.353.ad (01)
16
4
1
3
14
12
13
2
14
9
15
2
4
3
9
6
35.354.aa (01)
15
4
5
16
15
16
10
11
11
16
3
5
1
8
2
3
35.353.ad (01)
6
13
4
5
5
6
FIT
1:1
100%

Артикул

Название

Примечание

Количество

1

151655A1

HYD CONNECTOR,1" NPT O-Ring x 1" NPT

ASSY, Incl 2 - 3, Fitting G1" x G1"

4шт.

2

NSS

NOT SOLD SEPARAT

Fitting, Incl in 1

4шт.

3

154523A1

O-RING

4шт.

4

160429A1

HOSE ASSY.

4шт.

5

153001A1

ADAPTER

ASSY, Incl 6 - 7

4шт.

6

NSS

NOT SOLD SEPARAT

Fitting, Incl in 5

4шт.

7

154503A1

O-RING

4шт.

8

152127A1

HYD CONNECTOR,1/4" NPT O-Ring x 1/4" NPT

ASSY, Incl 9 - 10, G1/4" x G1/4"

2шт.

9

NSS

NOT SOLD SEPARAT

FittIng, Incl in 8

2шт.

10

154467A1

O-RING,10.8mm ID x 2.4mm Width

2шт.

11

152778A1

HOSE ASSY.

2шт.

12

KHJ1178

ELBOW

2шт.

13

152435A1

HYDRAULIC HOSE,12.70 mm ID x 2150.00 mm

2шт.

14

151650A1

HYD CONNECTOR,1/2" NPT O-Ring x 1/2" NPT

ASSY, Incl 15 - 16, G1/2" x G1/2"

4шт.

15

NSS

NOT SOLD SEPARAT

Fitting, Incl in 14

4шт.

16

154487A1

O-RING

4шт.

17

160414A1

RUBBER BLOCK

2шт.

18

150071A1

MOUNTING CLIP

380mm

4шт.

Выбрано товаров: 18