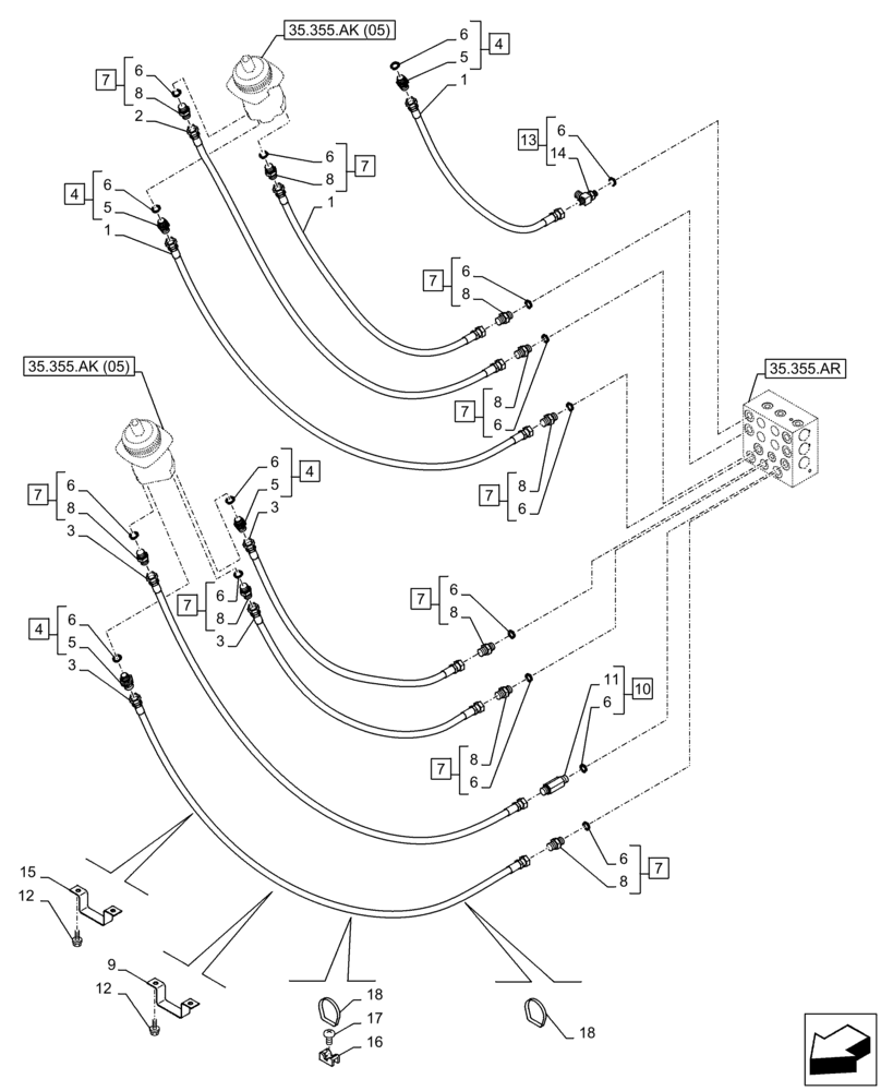
Запчасти Case CX210D LC LR (35.355.AC[01]) - JOYSTICK, HYDRAULIC LINE, CONTROL VALVE (35) - HYDRAULIC SYSTEMS

Схема запчастей Case CX210D LC LR - (35.355.AC[01]) - JOYSTICK, HYDRAULIC LINE, CONTROL VALVE (35) - HYDRAULIC SYSTEMS
8
3
6
14
7
6
8
18
8
6
6
7
6
8
7
7
35.355.ak (05)
6
5
4
6
5
7
8
8
1
7
6
7
6
4
7
3
16
7
6
6
6
1
8
13
12
5
4
6
17
15
7
8
3
18
8
4
3
11
8
5
12
35.355.ar
2
6
1
6
6
10
35.355.ak (05)
9
FIT
1:1
100%

Артикул

Название

Примечание

Количество

1

159211A1

HYDRAULIC HOSE

9mm ID x 2000mm

3шт.

2

168025A1

HYDRAULIC HOSE,9.50 mm ID x 1950.00 mm

9mm ID x 1950mm

1шт.

3

159217A1

HYDRAULIC HOSE

9mm ID x 1850mm

4шт.

4

KHJ1402

ADAPTER

ASSY, Incl 5 - 6 (Qty 4)

4шт.

5

NSS

NOT SOLD SEPARAT

Fitting, Incl in 4

4шт.

6

154475A1

O-RING

16шт.

7

152128A1

HYD CONNECTOR,3/8" NPT O-Ring x 3/8" NPT

ASSY, G3/8" x G3/8", Incl 8, 6 (Qty 10)

10шт.

8

NSS

NOT SOLD SEPARAT

Fitting, Incl in 7

10шт.

9

KHJ24020

CLAMP

1шт.

10

KAJ2351

FITTING

ASSY, G3/8" x G3/8", Incl 11, 6 (Qty 1)

1шт.

11

NSS

NOT SOLD SEPARAT

Fitting, Incl in 10

1шт.

12

166345A1

BOLT

M8 x 16mm

4шт.

13

164107A1

TEE,3/8" ORB x 3/8" - 19 NPT x 3/8" - 19 NPT

ASSY, G3/8" x G3/8" x G3/8", Incl 14, 6 (Qty 1)

1шт.

14

NSS

NOT SOLD SEPARAT

T-Fitting, Incl in 13

1шт.

15

KHJ13770

COLLAR

1шт.

16

150860A1

COLLAR

1шт.

17

840-168

SCREW,Pan, M6 x 1 x 8mm, Cl 4.8

M6 x 8mm

1шт.

18

150498A1

MOUNTING CLIP

300mm

3шт.

Выбрано товаров: 18