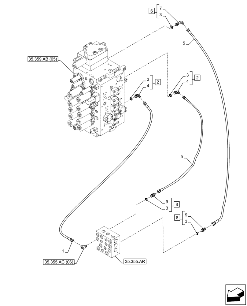
Запчасти Case CX210D LC LR (35.355.AC[09]) - VAR - 461558 - JOYSTICK, HYDRAULIC LINE, CONTROL VALVE, CONTROL PATTERN SELECTION (35) - HYDRAULIC SYSTEMS

Схема запчастей Case CX210D LC LR - (35.355.AC[09]) - VAR - 461558 - JOYSTICK, HYDRAULIC LINE, CONTROL VALVE, CONTROL PATTERN SELECTION (35) - HYDRAULIC SYSTEMS
3
2
3
7
9
3
35.355.ar
3
3
2
8
4
6
1
4
5
5
35.355.ac (06)
9
35.359.ab (05)
8
FIT
1:1
100%

Артикул

Название

Примечание

Количество

1

KHJ26660

HOSE ASSY.

9mm ID x 1250mm

1шт.

2

KHJ28590

ELBOW

ASSY, G3/8" x G3/8", Incl 3 (Qty 2), 4

2шт.

3

154475A1

O-RING

5шт.

4

NSS

NOT SOLD SEPARAT

90°-Fitting, Incl in 2

2шт.

5

KHJ2318

HOSE

9mm ID x 1400MM

2шт.

6

KHJ28820

ELBOW

ASSY, G3/8" x G3/8", Incl 3 (Qty 1) , 7

1шт.

7

NSS

NOT SOLD SEPARAT

90°-Fitting, Iuncl in 6

1шт.

8

152128A1

HYD CONNECTOR,3/8" NPT O-Ring x 3/8" NPT

ASSY, Incl 3 (Qty 2), 9

2шт.

9

NSS

NOT SOLD SEPARAT

Fitting, Incl in 8

2шт.

Выбрано товаров: 9