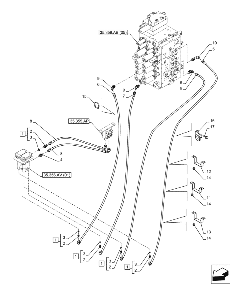
Запчасти Case CX210D LC LR (35.356.AR[03]) - VAR - 461558 - PEDAL, DRAIN LINE, CONTROL PATTERN SELECTION (35) - HYDRAULIC SYSTEMS

Схема запчастей Case CX210D LC LR - (35.356.AR[03]) - VAR - 461558 - PEDAL, DRAIN LINE, CONTROL PATTERN SELECTION (35) - HYDRAULIC SYSTEMS
35.356.av (01)
9
1
8
2
11
13
6
14
12
2
1
10
3
2
14
3
5
3
17
1
7
1
9
3
14
2
6
16
9
4
8
1
3
2
15
35.359.ab (05)
35.355.ap
FIT
1:1
100%

Артикул

Название

Примечание

Количество

1

152127A1

HYD CONNECTOR,1/4" NPT O-Ring x 1/4" NPT

G1/4" x G1/4", ASSY, Incl 2 - 3

5шт.

2

NSS

NOT SOLD SEPARAT

Fitting, Incl in 1

5шт.

3

150960A1

O-RING,10.8mm ID x 2.4mm Width

5шт.

4

161841A1

HYD CONNECTOR

G1/4" x G1/4"

1шт.

5

KHJ17990

HOSE

6mm ID x 3150mm

1шт.

6

KHJ2248

HOSE

6mm ID x 3000mm

2шт.

7

KHJ2165

HOSE

6mm ID x 2900mm

1шт.

8

KHJ2093

HOSE

6mm ID x 1150mm

2шт.

9

KHJ28690

ELBOW

G3/8" x G1/4"

3шт.

10

KHJ28880

ELBOW

G3/8" x G1/4"

1шт.

11

KHJ1220

COLLAR

2шт.

12

KHJ13770

COLLAR

1шт.

13

KHJ24020

CLAMP

1шт.

14

166345A1

BOLT

M8 x 16mm

6шт.

15

150498A1

MOUNTING CLIP

300mm

4шт.

16

KHR2581

CLAMP

4шт.

17

KHJ1215

BOLT,Spcl

4шт.

Выбрано товаров: 17