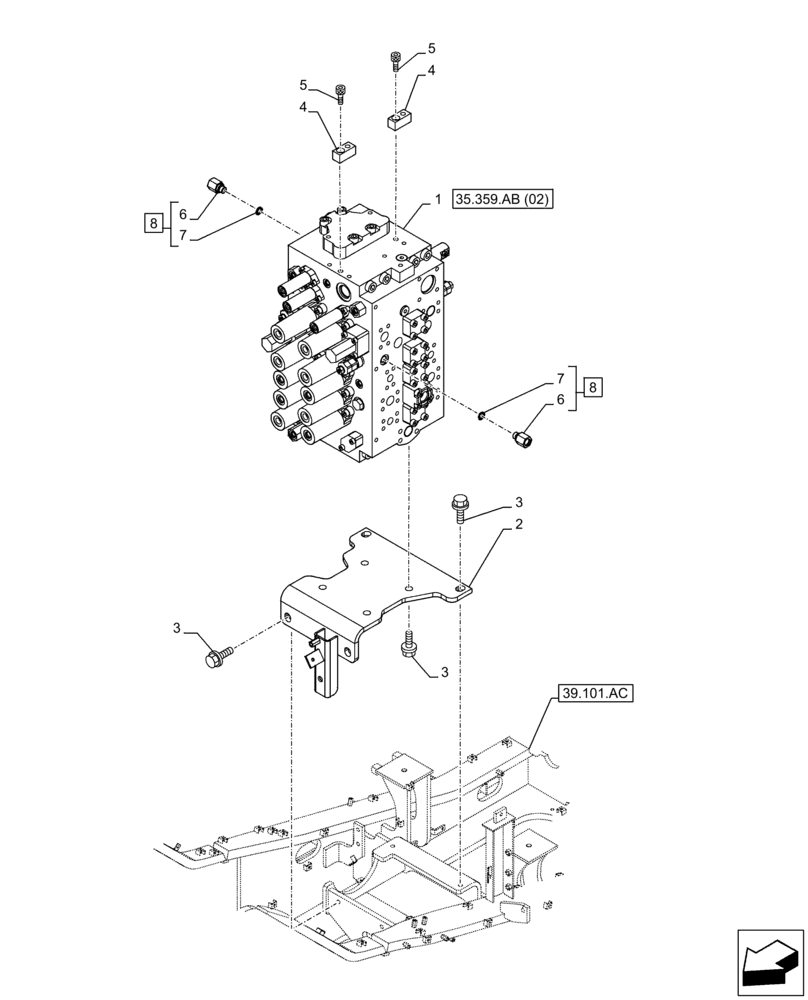
Запчасти Case CX210D LC LR (35.359.AB[01]) - CONTROL VALVE, MOUNTING, BRACKET (35) - HYDRAULIC SYSTEMS

Схема запчастей Case CX210D LC LR - (35.359.AB[01]) - CONTROL VALVE, MOUNTING, BRACKET (35) - HYDRAULIC SYSTEMS
8
7
2
1
3
6
35.359.ab (02)
8
4
5
5
4
7
6
39.101.ac
3
3
FIT
1:1
100%

Артикул

Название

Примечание

Количество

1

KRJ37520

CONTROL VALVE

, Serial Range: -C0453

1шт.

See also figure 35.359.AB(02), 35.359.AB(03), 35.359.AB(04), 35.359.AY(01)

1шт.

1

KRJ37521

CONTROL VALVE

, Start Serial: D0453

1шт.

See also figure 35.359.AB(02), 35.359.AB(03), 35.359.AB(04), 35.359.AY(01)

1шт.

2

KBJ19410

BRACKET

1шт.

3

166373A1

BOLT,Sems, M16 x 40mm

8шт.

4

KBJ19550

BRACKET

2шт.

5

862-12030

HEX SOC SCREW,M12 x 30mm, Cl 12.9

2шт.

6

NSS

NOT SOLD SEPARAT

Fitting, Incl in 8

1шт.

7

154475A1

O-RING

2шт.

8

KHJ18190

STUD

ASSY, G3/8 X M18, Incl 6, 7

2шт.

Выбрано товаров: 11