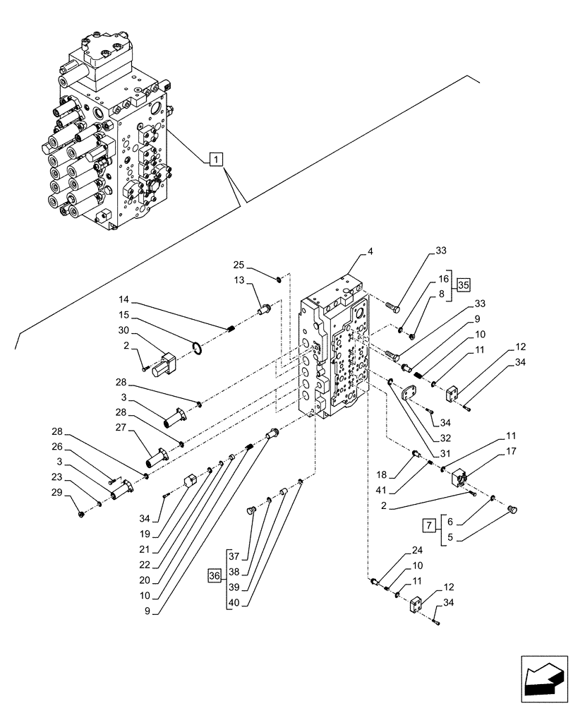
Запчасти Case CX210D LC LR (35.359.AB[06]) - VAR - 461863, 461557 - CONTROL VALVE, CLAMSHELL BUCKET, ROTATION, COMPONENTS (35) - HYDRAULIC SYSTEMS

Схема запчастей Case CX210D LC LR - (35.359.AB[06]) - VAR - 461863, 461557 - CONTROL VALVE, CLAMSHELL BUCKET, ROTATION, COMPONENTS (35) - HYDRAULIC SYSTEMS
1
22
35
6
14
34
4
33
25
8
29
1
39
1
33
38
17
21
26
41
28
9
15
13
2
12
1
10
2
5
28
18
24
28
9
3
27
30
3
10
34
34
32
37
12
19
34
31
11
16
10
20
23
7
36
1
40
FIT
1:1
100%

Артикул

Название

Примечание

Количество

1

KRJ37530

CONTROL VALVE

ASSY, Incl 2 - 41

1шт.

See also Figure 35.359.AB (05), 35.359.AB (07), 35.359.AB (08), 35.359.AY (03)

1шт.

2

LA017920

BOLT

8шт.

3

LR023640

CAP

3шт.

4

NSS

NOT SOLD SEPARAT

Body Valve, Incl in 1

1шт.

5

165836A1

PLUG

1шт.

6

154503A1

O-RING

1шт.

7

LK00302

PLUG

ASSY, Incl 5, 6

1шт.

8

NSS

NOT SOLD SEPARAT

Plug, Incl in 35

8шт.

9

LJ00727

VALVE POPPET

4шт.

10

LG00341

SPRING

5шт.

11

LE027240

O-RING

5шт.

12

LH00248

CAP

4шт.

13

LJ022700

POPPET

1шт.

14

163394A1

SPRING

1шт.

15

LE027300

O-RING

1шт.

16

154487A1

O-RING

1шт.

17

LH005410

FLANGE

1шт.

18

LJ016050

VALVE POPPET

1шт.

19

LH00250

CAP

1шт.

20

LH004960

SPACER

1шт.

21

LE027190

O-RING

1шт.

22

LE027220

RING

1шт.

23

LE026920

O-RING

1шт.

24

LJ00730

VALVE POPPET

1шт.

25

LE027170

O-RING

3шт.

26

160287A1

BOLT,Hex Skt

10шт.

27

LR023650

CAP

2шт.

28

LE026800

O-RING

5шт.

29

LK007800

PLUG

1шт.

30

LJ022720

VALVE

1шт.

31

LE027210

O-RING

2шт.

32

LR00579

PLUG

2шт.

33

LA017940

BOLT

10шт.

34

LA017930

BOLT

32шт.

35

163370A1

PLUG

ASSY, Incl 8, 16

1шт.

36

165839A1

PLUG

ASSY, Incl 37 - 40

2шт.

37

LK00327

PLUG

1шт.

38

155223A1

O-RING

1шт.

39

165779A1

RING

1шт.

40

154454A1

O-RING

1шт.

41

LG006510

SPRING

1шт.

Выбрано товаров: 42