Запчасти Case CX210D LC LR (35.360.AJ[06]) - VAR - 461871, 461872 - SHEARS, SOLENOID VALVE, LINE, AUXILIARY, CIRCUIT, W/ ELECTRICAL PROPORTIONAL CONTROL (35) - HYDRAULIC SYSTEMS

Схема запчастей Case CX210D LC LR - (35.360.AJ[06]) - VAR - 461871, 461872 - SHEARS, SOLENOID VALVE, LINE, AUXILIARY, CIRCUIT, W/ ELECTRICAL PROPORTIONAL CONTROL (35) - HYDRAULIC SYSTEMS
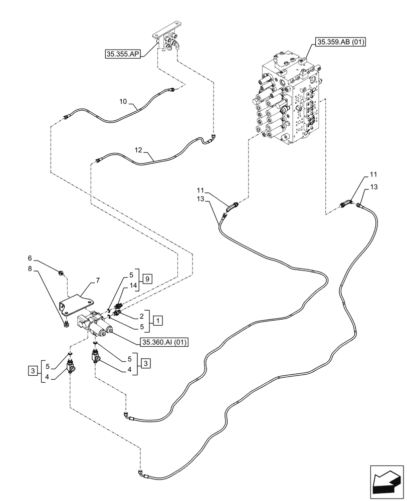
35.355.ap
14
13
13
5
10
12
9
4
1
5
4
11
5
11
3
8
5
3
2
7
6
35.360.ai (01)
35.359.ab (01)
FIT
1:1
100%

Артикул

Название

Примечание

Количество

1

152127A1

HYD CONNECTOR,1/4" NPT O-Ring x 1/4" NPT

G1/4" x G1/4", ASSY, Incl 2, 5 (Qty 1)

1шт.

2

NSS

NOT SOLD SEPARAT

Fitting, Incl in 1

1шт.

3

167666A1

FITTING

G1/4" x G1/4", ASSY, Incl 4, 5 (Qty 2)

2шт.

4

NSS

NOT SOLD SEPARAT

Fitting, Incl in 3

2шт.

5

154467A1

O-RING,10.8mm ID x 2.4mm Width

4шт.

6

166345A1

BOLT

M8 x 16mm

2шт.

7

KHJ28770

BRACKET

1шт.

8

166351A1

BOLT,Sems, M10 x 20mm

2шт.

9

161841A1

HYD CONNECTOR

ASSY, G1/4", Incl 5 (Qty 1), 14

1шт.

10

KHJ2051

HOSE

6mm ID x 1050mm

1шт.

11

KHJ28880

ELBOW

2шт.

12

KHJ2092

HOSE

6mm ID x 1100mm

1шт.

13

KHJ2581

HOSE,6.3 mm ID x 3100.00 mm

6mm ID x 3100mm

2шт.

14

NSS

NOT SOLD SEPARAT

Fitting, Incl in 9

1шт.

Выбрано товаров: 14