Запчасти Case CX210D LC LR (10.400.BF[02]) - RADIATOR, PANEL (10) - ENGINE

Схема запчастей Case CX210D LC LR - (10.400.BF[02]) - RADIATOR, PANEL (10) - ENGINE
39.101.ac
6
8
7
1
2
2
10
4
2
9
13
12
11
5
3
10.400.be (01)
FIT
1:1
100%

Артикул

Название

Примечание

Количество

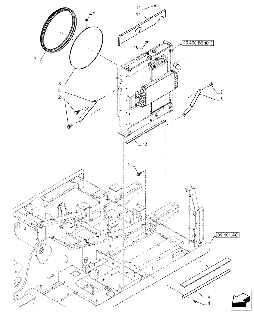
1

KBH13280

SEAL

1шт.

2

166373A1

BOLT,Sems, M16 x 40mm

4шт.

3

KBH12990

STAY

1шт.

4

166052A1

BOLT

3шт.

5

KBH13000

STAY

1шт.

6

KBH13270

BRACKET

1шт.

7

KRH12850

RUBBER SEAL

1шт.

8

KHH12390

MOUNTING CLIP

1шт.

9

KHH12410

COLLAR CLAMP

1шт.

10

162468A1

DECAL

, Serial Range: -C0444

1шт.

10

KHP27380

DECAL

, Start Serial: D0444

1шт.

11

KBH13032

BRACKET

1шт.

12

166350A1

BOLT

4шт.

13

KRH15160

SEAL PROTECTION

1шт.

Выбрано товаров: 14