Запчасти Case CX245D (35.359.090) - VAR - 461863 - CONTROL VALVE, COMPONENTS (35) - HYDRAULIC SYSTEMS

Схема запчастей Case CX245D - (35.359.090) - VAR - 461863 - CONTROL VALVE, COMPONENTS (35) - HYDRAULIC SYSTEMS
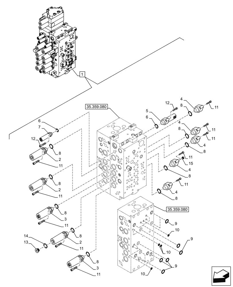
35.359.080
10
8
1
11
11
9
7
4
4
11
8
8
8
10
11
4
8
4
8
8
3
11
11
6
9
11
2
14
1
6
8
10
8
3
9
15
5
11
13
12
2
4
11
12
2
8
1
35.359.080
FIT
1:1
100%

Артикул

Название

Примечание

Количество

1

KRJ42101

DOZER BLADE

ASSY, Incl 2 - 15

1шт.

See also Figure 35.359.080, 35.359.100, 35.359.110, 35.359.120

1шт.

2

LR023640

CAP

6шт.

3

LR023650

CAP

4шт.

4

LR023660

CAP

10шт.

5

LR023670

CAP

1шт.

6

LE014890

O-RING,3.53mm Thk x 25.7mm ID, Cl 6

4шт.

7

LR018610

CAP

3шт.

8

LE026800

O-RING

20шт.

9

LE025860

O-RING

10шт.

10

LE026750

O-RING

8шт.

11

160287A1

BOLT,Hex Skt

40шт.

12

LUC0118

BOLT,Hex Skt Hd

8шт.

13

LK007800

PLUG

1шт.

14

LE026920

O-RING

1шт.

15

LK007810

PLUG

1шт.

Выбрано товаров: 16