Запчасти Case CX245D (35.360.190) - VAR - 461561, 461865, 461869, 461871 - ARM, STOP VALVE, HAMMER CIRCUIT, SHEARS, HIGH FLOW, COMPONENTS (35) - HYDRAULIC SYSTEMS

Схема запчастей Case CX245D - (35.360.190) - VAR - 461561, 461865, 461869, 461871 - ARM, STOP VALVE, HAMMER CIRCUIT, SHEARS, HIGH FLOW, COMPONENTS (35) - HYDRAULIC SYSTEMS
4
9
10
2
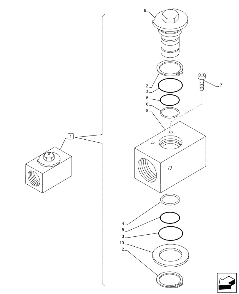
1
3
3
5
7
2
6
8
5
FIT
1:1
100%

Артикул

Название

Примечание

Количество

1

KHV10430

SHUT-OFF VALVE

ASSY, Incl 2 - 10

1шт.

2

NSS

NOT SOLD SEPARAT

Ring, Incl in 1

1шт.

3

154543A1

O-RING

2шт.

4

154012A1

BACK-UP RING

1шт.

5

154519A1

O-RING

2шт.

6

153994A1

BACK-UP RING

1шт.

7

NSS

NOT SOLD SEPARAT

Bolt, Incl in 1

1шт.

8

NSS

NOT SOLD SEPARAT

Body, Incl in 1

1шт.

9

NSS

NOT SOLD SEPARAT

Bolt, Incl in 1

1шт.

10

NSS

NOT SOLD SEPARAT

Ring, Incl in 1

1шт.

Выбрано товаров: 10