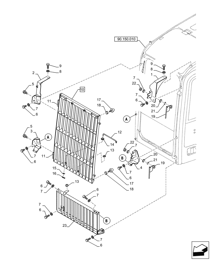
Запчасти Case CX245D (90.150.070) - VAR - 781986 - FRONT, STONEGUARD, OPENABLE (90) - PLATFORM, CAB, BODYWORK AND DECALS

Схема запчастей Case CX245D - (90.150.070) - VAR - 781986 - FRONT, STONEGUARD, OPENABLE (90) - PLATFORM, CAB, BODYWORK AND DECALS
90.150.010
22
18
6
17
1
6
19
5
20
6
7
3
20
8
7
19
7
21
7
18
13
22
8
6
7
6
7
16
12
10
2
11
14
6
9
4
17
7
7
6
9
13
7
23
15
7
21
11
6
5
FIT
1:1
100%

Артикул

Название

Примечание

Количество

1

KHN29390

BRACKET

1шт.

2

KHN29402

BRACKET

1шт.

3

KHN29410

BRACKET

1шт.

4

KHN29420

BRACKET

1шт.

5

166351A1

BOLT,Sems, M10 x 20mm

4шт.

6

627-12025

BOLT,Hex, M12 x 1.75 x 25mm, Cl 10.9, Full Thd

4шт.

7

150811A1

WASHER

4шт.

8

150814A1

WASHER,17mm ID x 32mm OD x 4.5mm Thk

2шт.

9

102R016Y025R

BOLT

M16 x 25mm

2шт.

10

KHN29430

GUARD

ASY, Inl 11

1шт.

11

KHN16890

HINGE

2шт.

12

KHN27800

STAY

1шт.

13

KHN16920

GROMMET

1шт.

14

KHN20000

GROMMET

1шт.

15

895-11010

WASHER,11mm ID x 20mm OD x 2mm Thk

1шт.

16

153181A1

COTTER PIN

1шт.

17

151108A1

STOP

2шт.

18

KBH0446

NUT

M10 x 1.25

2шт.

19

KHN27770

LEVER

2шт.

20

896-11016

WASHER,17.5mm ID x 30mm OD x 4mm Thk

2шт.

21

157560A1

WAVE WASHER

2шт.

22

829-1412

NUT,M12, Cl 10.9

2шт.

23

KHN29440

GUARD

1шт.

Выбрано товаров: 23