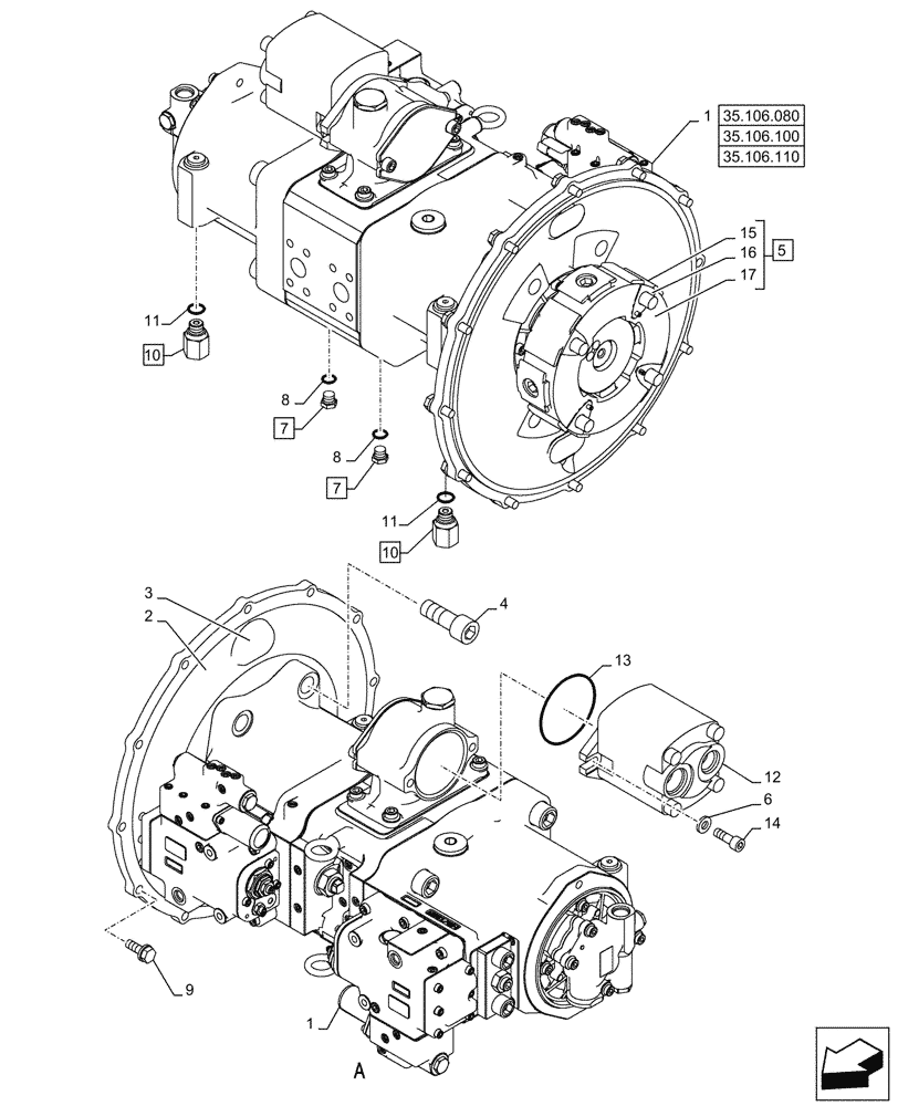
Запчасти Case CX245D (35.106.090) - VAR - 481064 - VARIABLE DELIVERY HYDRAULIC PUMP (35) - HYDRAULIC SYSTEMS

Схема запчастей Case CX245D - (35.106.090) - VAR - 481064 - VARIABLE DELIVERY HYDRAULIC PUMP (35) - HYDRAULIC SYSTEMS
35.106.100
3
10
17
14
8
1
8
12
9
6
5
16
1
15
7
10
4
11
13
2
11
7
35.106.080
35.106.110
FIT
1:1
100%

Артикул

Название

Примечание

Количество

1

KRJ42080

HYDRAULIC PUMP

1шт.

See also Figure 35.106.080, 35.106.100, 35.106.110

1шт.

2

166370A1

FLANGE

1шт.

3

KHJ2656

GROMMET

2шт.

4

862-20055

HEX SOC SCREW,M20 x 55mm, Cl 12.9

M20 x 55mm

4шт.

5

KRJ29521

HYDRAULIC PUMP

ASSY, Incl 15 - 17

1шт.

6

150409A1

WASHER

M12

2шт.

7

159002A1

PLUG

ASSY, G1/4", Incl 8

2шт.

8

154467A1

O-RING,10.8mm ID x 2.4mm Width

2шт.

9

166347A1

BOLT,Sems, M10 x 30mm

M10 x 30mm

11шт.

10

KHJ18190

STUD

ASSY, G3/8" x M18, Incl 11

2шт.

11

154475A1

O-RING

2шт.

12

KRJ31540

PUMP

1шт.

13

154697A1

O-RING

1шт.

14

862-10030

HEX SOC SCREW,M10 x 30mm, Cl 12.9

M10 x 30mm

2шт.

15

NSS

NOT SOLD SEPARAT

Element, Incl in 5

15шт.

16

NSS

NOT SOLD SEPARAT

Insert, Incl in 5

16шт.

17

NSS

NOT SOLD SEPARAT

Insert, Incl in 5

17шт.

Выбрано товаров: 18