Запчасти Case CX245D SR LC (35.359.030) - CONTROL VALVE, COMPONENTS (35) - HYDRAULIC SYSTEMS

Схема запчастей Case CX245D SR LC - (35.359.030) - CONTROL VALVE, COMPONENTS (35) - HYDRAULIC SYSTEMS
35.359.020
4
11
8
15
11
9
12
13
3
8
11
4
8
10
5
8
4
8
11
8
10
3
9
6
4
8
6
11
11
2
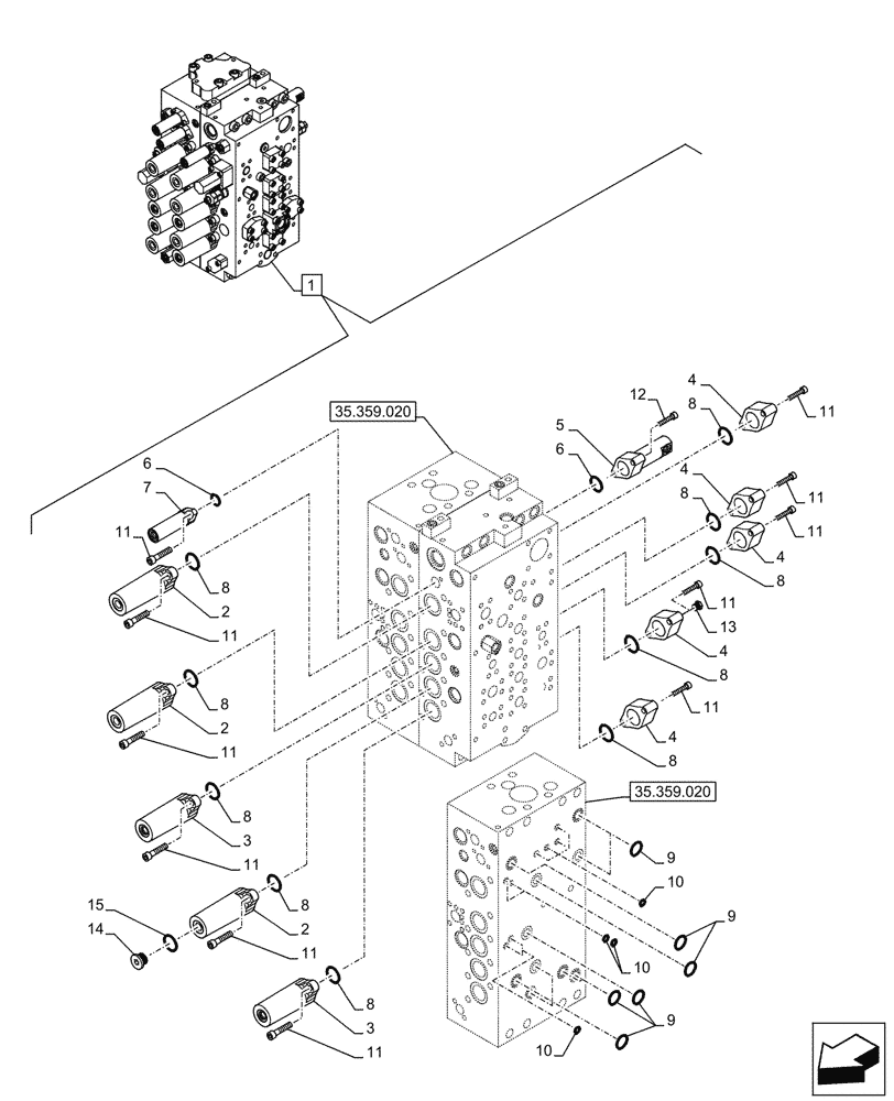
1
11
2
11
2
8
10
4
7
11
8
11
8
9
11
14
35.359.020
FIT
1:1
100%

Артикул

Название

Примечание

Количество

1

KRJ42091

CONTROL VALVE

ASSY, Incl 2 - 15

1шт.

See also Figure 35.359.020, 35.359.040, 35.359.050, 35.359.060

1шт.

2

LR023640

CAP

6шт.

3

LR023650

CAP

4шт.

4

LR023660

CAP

10шт.

5

LR023670

CAP

1шт.

6

LE014890

O-RING,3.53mm Thk x 25.7mm ID, Cl 6

4шт.

7

LR018610

CAP

3шт.

8

LE026800

O-RING

20шт.

9

LE025860

O-RING

10шт.

10

LE026750

O-RING

8шт.

11

160287A1

BOLT,Hex Skt

40шт.

12

LUC0118

BOLT,Hex Skt Hd

8шт.

13

LK007810

PLUG

1шт.

14

LK007800

PLUG

1шт.

15

LE026920

O-RING

1шт.

Выбрано товаров: 16