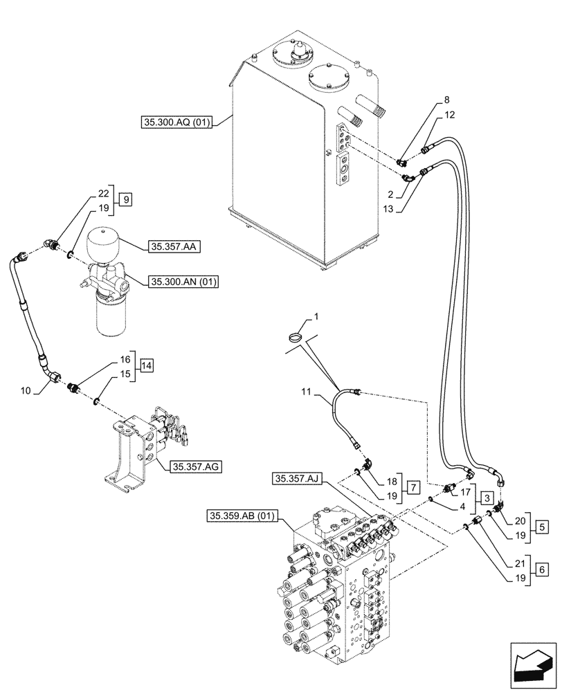
Запчасти Case CX250D LC (35.357.AR[02]) - PILOT VALVE, CONTROL VALVE LINE (35) - HYDRAULIC SYSTEMS

Схема запчастей Case CX250D LC - (35.357.AR[02]) - PILOT VALVE, CONTROL VALVE LINE (35) - HYDRAULIC SYSTEMS
35.357.aa
22
1
19
15
2
5
13
14
6
3
12
10
19
11
19
7
18
19
21
9
20
8
17
16
4
35.300.aq (01)
35.357.aj
35.357.ag
35.359.ab (01)
35.300.an (01)
FIT
1:1
100%

Артикул

Название

Примечание

Количество

1

150496A1

MOUNTING CLIP

2шт.

2

KHJ28580

ELBOW

G1/4 x G1/4

1шт.

3

159497A1

TEE

ASSY, Incl 4, 17

1шт.

4

154467A1

O-RING,10.8mm ID x 2.4mm Width

1шт.

5

KHJ28590

ELBOW

ASSY, Incl 19 (Qty 1), 20

1шт.

6

KHJ13790

STUD

ASSY, Incl 19 (Qty 1), 21

1шт.

7

KHJ28690

ELBOW

ASSY, Incl 18, 19 (Qty 1)

1шт.

8

KHJ13900

TEE

G3/8 x G1/4 x G3/8

1шт.

9

KHJ28640

ELBOW

ASSY, Incl 19 (Qty 1), 22

1шт.

10

KHJ2345

HOSE

340mm

1шт.

11

KHJ2240

HOSE

450mm

1шт.

12

KHJ17850

HOSE

850mm, Serial Range: -C0135

1шт.

12

KHJ33790

HOSE

800mm, Start Serial: D0135

1шт.

13

KHJ2195

HOSE

680mm

1шт.

14

152128A1

HYD CONNECTOR,3/8" NPT O-Ring x 3/8" NPT

ASSY, Incl 15, 16

1шт.

15

154475A1

O-RING

1шт.

16

NSS

NOT SOLD SEPARAT

Fitting, Incl in 14

1шт.

17

NSS

NOT SOLD SEPARAT

T-Fitting, Incl in 3

1шт.

18

NSS

NOT SOLD SEPARAT

Fitting, G3/8 x G1/4, Incl in 7

1шт.

19

150031A1

O-RING,10mm ID x 24mm OD

4шт.

20

NSS

NOT SOLD SEPARAT

Fitting, G3/8 x G3/8, Incl in 5

1шт.

21

NSS

NOT SOLD SEPARAT

Fitting, G3/8 x G3/8, Incl in 6

1шт.

22

NSS

NOT SOLD SEPARAT

Fitting, G3/8 x G3/8, Incl in 9

1шт.

Выбрано товаров: 23