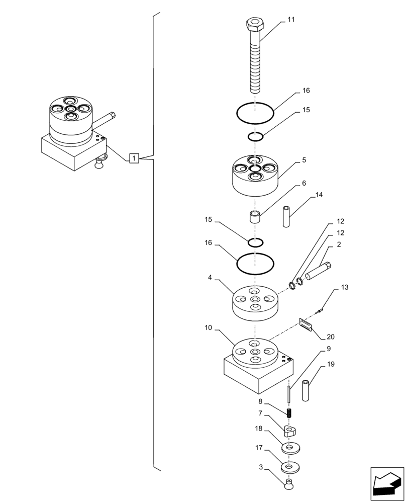
Запчасти Case CX250D LC (35.359.AW) - VAR - 461558 - VALVE, SELECTOR, CONTROL PATTERN SELECTION (35) - HYDRAULIC SYSTEMS

Схема запчастей Case CX250D LC - (35.359.AW) - VAR - 461558 - VALVE, SELECTOR, CONTROL PATTERN SELECTION (35) - HYDRAULIC SYSTEMS
9
12
6
13
15
14
5
10
11
15
19
1
3
12
8
18
17
7
2
20
16
16
4
FIT
1:1
100%

Артикул

Название

Примечание

Количество

1

KHJ12080

CONTROL BLOCK

ASSY, Incl 2 - 20, Start Serial: D0085

1шт.

2

LF000570

LEVER

1шт.

3

LP000220

KNOB

1шт.

4

NSS

NOT SOLD SEPARAT

Plate, Incl in 1

1шт.

5

LR014550

PLATE

1шт.

6

NSS

NOT SOLD SEPARAT

Collar, Incl in 1

1шт.

7

LH004670

SLEEVE

1шт.

8

LG005840

COMPRESSION SPRING

1шт.

9

LA010670

DOWEL

1шт.

10

LR017570

PLATE

1шт.

11

LA010680

BOLT,Hex Skt Hd

1шт.

12

895-11008

WASHER,9mm ID x 16mm OD x 1.6mm Thk

2шт.

13

NSS

NOT SOLD SEPARAT

Rivet, Incl in 1

2шт.

14

LA010690

DOWEL

1шт.

15

LE00852

O-RING

2шт.

16

LE01128

O-RING

2шт.

17

LG005850

STOP LOCK

1шт.

18

NSS

NOT SOLD SEPARAT

Bracket, Incl in 1

1шт.

19

NSS

NOT SOLD SEPARAT

Pin, Incl in 1

2шт.

20

NSS

NOT SOLD SEPARAT

Name plate, Incl in 1

1шт.

Выбрано товаров: 20