Запчасти Case CX250D LC (35.360.AJ[06]) - VAR - 461871 - HAMMER, SHEARS, SOLENOID VALVE, LINES, AUXILIARY CIRCUIT, W/ ELECTRICAL PROPORTIONAL CONTROL (35) - HYDRAULIC SYSTEMS

Схема запчастей Case CX250D LC - (35.360.AJ[06]) - VAR - 461871 - HAMMER, SHEARS, SOLENOID VALVE, LINES, AUXILIARY CIRCUIT, W/ ELECTRICAL PROPORTIONAL CONTROL (35) - HYDRAULIC SYSTEMS
13
11
12
2
4
9
5
8
35.359.ab (01)
35.360.ai
10
5
7
6
9
39.101.ac
5
3
7
6
1
13
35.355.ap
FIT
1:1
100%

Артикул

Название

Примечание

Количество

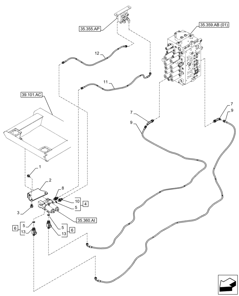
1

166345A1

BOLT

2шт.

2

KHJ28770

BRACKET

1шт.

3

166351A1

BOLT,Sems, M10 x 20mm

2шт.

4

152127A1

HYD CONNECTOR,1/4" NPT O-Ring x 1/4" NPT

ASSY, Incl 5, 10

1шт.

5

154467A1

O-RING,10.8mm ID x 2.4mm Width

3шт.

6

167666A1

FITTING

ASSY, Incl 5, 13

2шт.

7

KHJ28880

ELBOW

2шт.

8

161841A1

HYD CONNECTOR

1шт.

9

KHJ2581

HOSE,6.3 mm ID x 3100.00 mm

2шт.

10

NSS

NOT SOLD SEPARAT

Fitting, Incl in 4

1шт.

11

KHJ2092

HOSE

1шт.

12

KHJ2051

HOSE

1шт.

13

NSS

NOT SOLD SEPARAT

Fitting, Incl in 6

2шт.

Выбрано товаров: 13