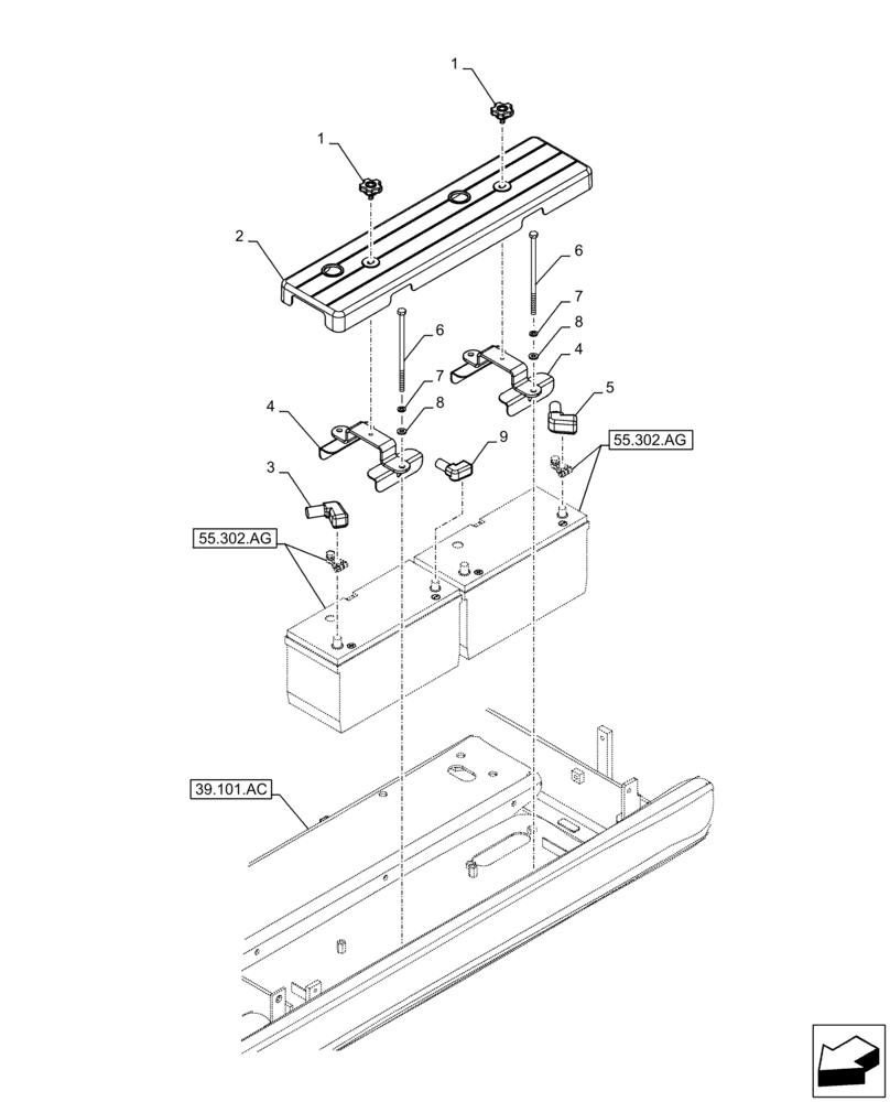
Запчасти Case CX250D LC (55.302.AH) - BATTERY, COVER (55) - ELECTRICAL SYSTEMS

Схема запчастей Case CX250D LC - (55.302.AH) - BATTERY, COVER (55) - ELECTRICAL SYSTEMS
9
4
6
1
7
1
4
6
3
5
55.302.ag
2
8
39.101.ac
8
7
55.302.ag
FIT
1:1
100%

Артикул

Название

Примечание

Количество

1

KHR39400

BOLT

M8 x 15mm

2шт.

2

KRR21870

COVER

1шт.

3

166116A1

DUST CAP

2шт.

4

KRR22120

HOLDER

2шт.

5

150364A1

CAP

1шт.

6

KRR20870

BOLT

M10 x 220mm

4шт.

7

892-11010

LOCK WASHER,M10

4шт.

8

150409A1

WASHER

4шт.

9

166117A1

DUST CAP

1шт.

Выбрано товаров: 9