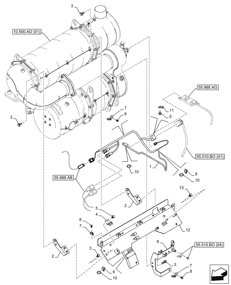
Запчасти Case CX250D LC (55.510.BO[08]) - SELECTIVE CATALYTIC REDUCTION, MUFFLER, WIRE HARNESS - BSN NGS7M1169 (55) - ELECTRICAL SYSTEMS

Схема запчастей Case CX250D LC - (55.510.BO[08]) - SELECTIVE CATALYTIC REDUCTION, MUFFLER, WIRE HARNESS - BSN NGS7M1169 (55) - ELECTRICAL SYSTEMS
10.500.ao (01)
3
1
7
11
7
6
2
8
5
12
2
7
9
8
10
10
13
5
10
3
9
3
3
4
8
55.510.bo (04)
55.510.bo (01)
55.988.ab
55.988.ag
FIT
1:1
100%

Артикул

Название

Примечание

Количество

1

KRR22450

WIRE HARNESS

1шт.

2

KRR21970

BRACKET

2шт.

3

167182A1

BOLT,Sems, M8 x 25mm

10шт.

4

KHR37570

CLIP

1шт.

5

167518A1

BOLT

M8 x 16mm

2шт.

6

KRR22411

BRACKET

1шт.

7

KHR2584

CLAMP

6шт.

8

KHJ1215

BOLT,Spcl

M8 x 25mm

6шт.

9

KHR10220

MOUNTING CLIP

1шт.

10

150496A1

MOUNTING CLIP

1шт.

11

158962A1

CLIP

1шт.

12

KRR22440

BRACKET

1шт.

13

159602A1

BOLT,Sems, Hex, M6 x 16mm

2шт.

Выбрано товаров: 13