Запчасти Case CX250D LC (88.100.35[027]) - DIA KIT, HAMMER CIRCUIT, W/ ELECTRICAL PROPORTIONAL CONTROL, BOOM, LINE (88) - ACCESSORIES

Схема запчастей Case CX250D LC - (88.100.35[027]) - DIA KIT, HAMMER CIRCUIT, W/ ELECTRICAL PROPORTIONAL CONTROL, BOOM, LINE (88) - ACCESSORIES
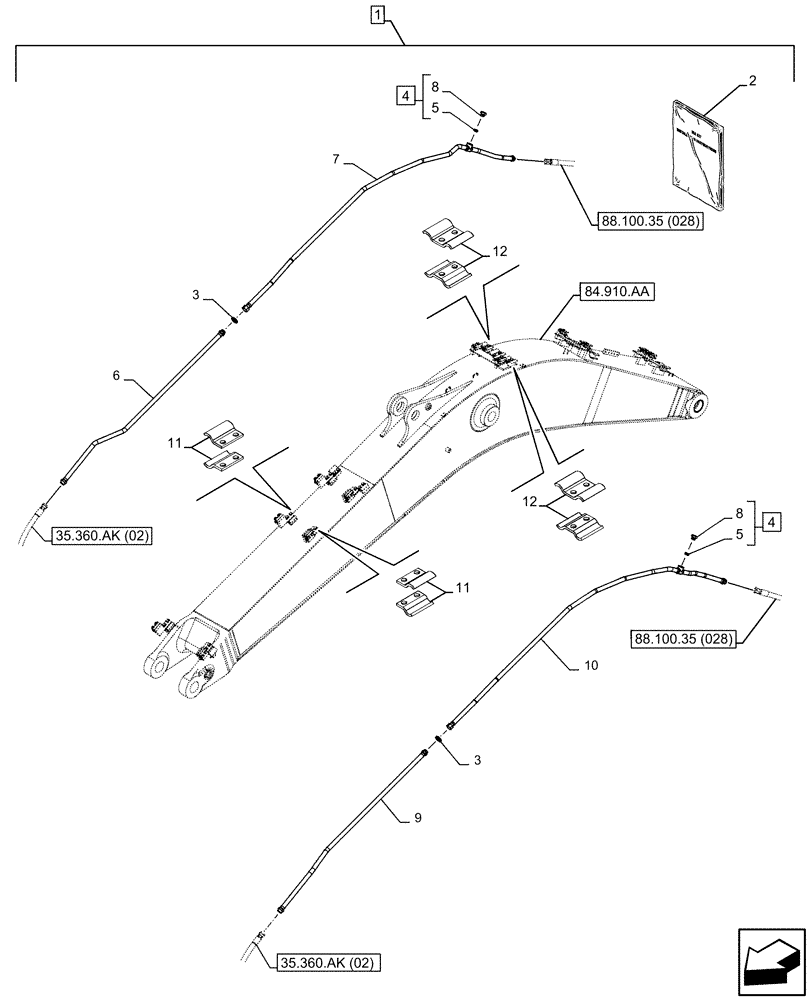
5
8
88.100.35 (028)
3
3
84.910.aa
11
12
1
35.360.ak (02)
5
35.360.ak (02)
10
2
12
9
11
6
4
88.100.35 (028)
8
4
7
FIT
1:1
100%

Артикул

Название

Примечание

Количество

1

KG1BP441-00

CONSTRUCTION DIA

Breaker Circuit Proportional Control Kit, Incl 2 - 12

1шт.

To See Full DIA KIT Composition Look for all the Figures Where the DIA KIT P/N Is Shown

1шт.

2

47789087

INSTRUCTION

1шт.

3

KHJ1361

O-RING,0.07" Thk x 0.926" ID

2шт.

4

152924A1

PLUG

ASSY, Incl 5, 8

2шт.

5

154503A1

O-RING

2шт.

6

KBV31240

PIPE

Down, LH

1шт.

7

KBV23630

HYD TUBE

Upper, LH

1шт.

8

NSS

NOT SOLD SEPARAT

Plug, Incl in 4

2шт.

9

KBV31230

PIPE

Down, RH

1шт.

10

KBV23610

HYD TUBE

Upper, RH

1шт.

11

KHV10630

COLLAR CLAMP

4шт.

12

KHV10610

COLLAR CLAMP

4шт.

Выбрано товаров: 13