Запчасти Case CX250D LC (88.100.35[155]) - DIA KIT, HAMMER CIRCUIT, HIGH FLOW, SHEARS, W/ ELECTRICAL PROPORTIONAL CONTROL, DIRECTIONAL CONTROL VALVE, LINE (88) - ACCESSORIES

Схема запчастей Case CX250D LC - (88.100.35[155]) - DIA KIT, HAMMER CIRCUIT, HIGH FLOW, SHEARS, W/ ELECTRICAL PROPORTIONAL CONTROL, DIRECTIONAL CONTROL VALVE, LINE (88) - ACCESSORIES
11
10
8
2
6
6
88.100.35 (152)
3
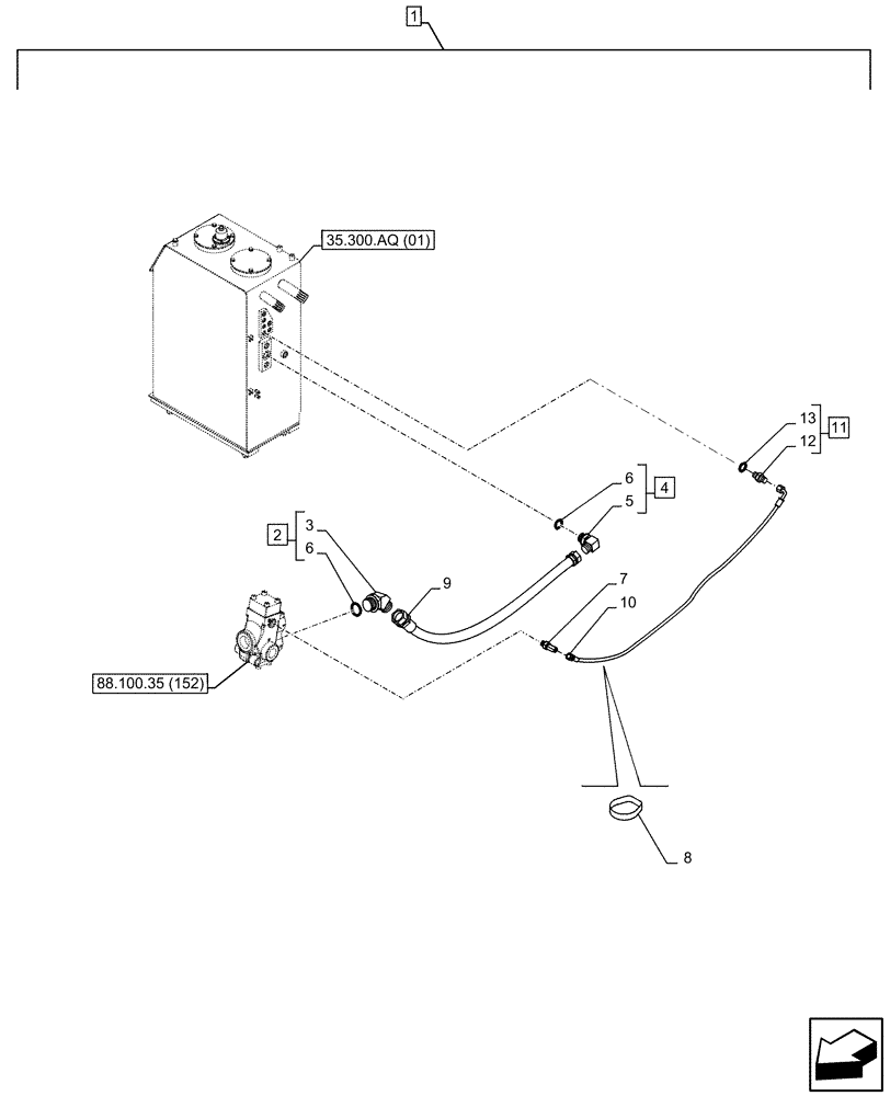
1
35.300.aq (01)
4
13
9
7
5
12
FIT
1:1
100%

Артикул

Название

Примечание

Количество

1

KG1BP445-00

CONSTRUCTION DIA

Multi-Purpose with 3 Way Valve, Incl 2 - 13

1шт.

To See Full DIA KIT Composition Look for all the Figures Where the DIA KIT P/N Is Shown

1шт.

2

157587A1

ELBOW

ASSY, G1" x G1", Incl 3, 6 (Qty 1)

1шт.

3

NSS

NOT SOLD SEPARAT

45° Fitting, Incl in 2

1шт.

4

157581A1

ELBOW,90 Degree, 1" O-Ring x 1"

ASSY, G1" x G1", Incl 5, 6 (Qty 1)

1шт.

5

NSS

NOT SOLD SEPARAT

90° Fitting, Incl in 4

1шт.

6

154523A1

O-RING

2шт.

7

KHJ28580

ELBOW

G1/4" x G1/4"

1шт.

8

150496A1

MOUNTING CLIP

250mm

1шт.

9

KBJ22210

HYDRAULIC HOSE

25mm ID x 740mm

1шт.

10

KHJ16860

HOSE

6mm ID x 950mm

1шт.

11

152127A1

HYD CONNECTOR,1/4" NPT O-Ring x 1/4" NPT

ASSY, Incl 12, 13

1шт.

12

NSS

NOT SOLD SEPARAT

Fitting, Incl in 11

1шт.

13

154467A1

O-RING,10.8mm ID x 2.4mm Width

1шт.

Выбрано товаров: 0