Запчасти Case CX250D LC (10.216.AI) - FUEL TANK (10) - ENGINE

Схема запчастей Case CX250D LC - (10.216.AI) - FUEL TANK (10) - ENGINE
3
55.011.ac
17
15
5
16
8
14
17
39.101.ac
2
13
11
12
4
6
7
8
9
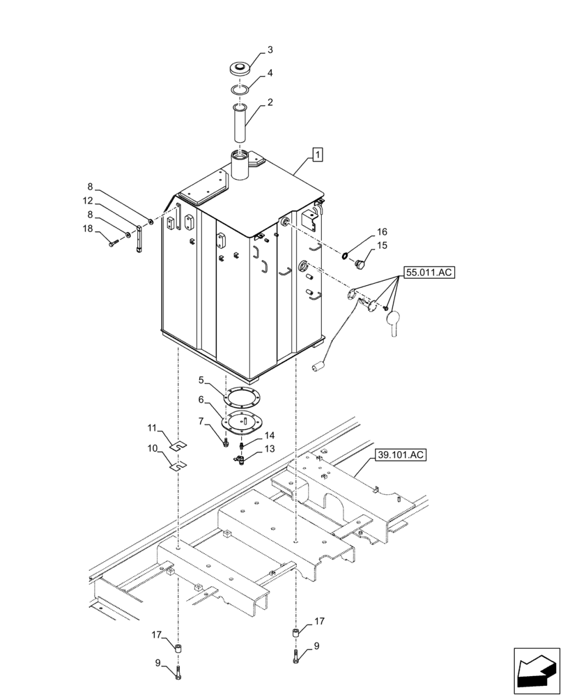
1
10
18
9
FIT
1:1
100%

Артикул

Название

Примечание

Количество

1

KBH14271

FUEL TANK

ASSY, Incl 2 - 7

1шт.

2

KHH10060

FILTER

Fuel Tank

1шт.

3

150492A1

LOCKABLE FUEL CAP

1шт.

4

163804A1

GASKET

1шт.

5

151322A1

GASKET,3mm Thk

1шт.

6

KRH13080

COVER

1шт.

7

166052A1

BOLT

M10 x 25mm

8шт.

8

159493A1

SEALING WASHER

4шт.

9

827-16070

BOLT,Hex, M16 x 2 x 70mm, Cl 10.9

6шт.

10

150166A1

SHIM

1шт.

11

150479A1

SHIM

1шт.

12

159478A1

DIPSTICK

1шт.

13

158923A1

DRAIN VALVE

1шт.

14

150847A1

HYD CONNECTOR

1шт.

15

152924A1

PLUG

1шт.

16

154503A1

O-RING

1шт.

17

153357A1

SPACER

6шт.

18

159492A1

BOLT

2шт.

Выбрано товаров: 18