Запчасти Case CX250D LC (10.400.BF[02]) - RADIATOR FAN SHROUD (10) - ENGINE

Схема запчастей Case CX250D LC - (10.400.BF[02]) - RADIATOR FAN SHROUD (10) - ENGINE
13
39.101.ac
2
4
10.400.be
2
6
12
9
2
10
5
7
2
8
1
11
3
FIT
1:1
100%

Артикул

Название

Примечание

Количество

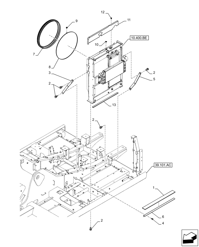
1

KBH13280

SEAL

1шт.

2

166373A1

BOLT,Sems, M16 x 40mm

8шт.

3

KBH12990

STAY

1шт.

4

166052A1

BOLT

M10 x 25

3шт.

5

KBH13000

STAY

1шт.

6

KBH13270

BRACKET

1шт.

7

KRH12850

RUBBER SEAL

1шт.

8

KHH12390

MOUNTING CLIP

1шт.

9

KHH12410

COLLAR CLAMP

Fan Guide Band

1шт.

10

KHP27380

DECAL

1шт.

11

KBH13032

BRACKET

1шт.

12

166350A1

BOLT

M8 x 20

4шт.

13

KRH15160

SEAL PROTECTION

1шт.

Выбрано товаров: 13