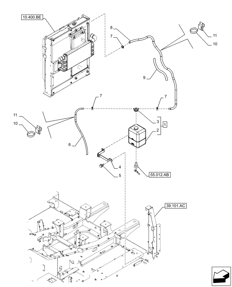
Запчасти Case CX250D LC (10.400.BH) - RADIATOR, EXPANSION TANK (10) - ENGINE

Схема запчастей Case CX250D LC - (10.400.BH) - RADIATOR, EXPANSION TANK (10) - ENGINE
10.400.be
9
4
5
11
8
11
55.012.ab
10
2
7
10
1
3
7
39.101.ac
6
7
FIT
1:1
100%

Артикул

Название

Примечание

Количество

1

KHH10840

RESERVOIR, COOLANT E

ASSY, Incl 2, 3

1шт.

See also Figure 55.012.AB

1шт.

2

NSS

NOT SOLD SEPARAT

Tank, Incl in 1

1шт.

3

KHH10860

PLASTIC PLUG

1шт.

4

KBH13121

HOLDER

1шт.

5

166052A1

BOLT

2шт.

6

KHH0398

HOSE,7mm ID x 650mm L

1шт.

7

165951A1

CLAMP

3шт.

8

KHH0389

HOSE

1300mm

1шт.

9

KBR0665

PLASTIC-RUBBER TUBE

1200mm

1шт.

10

150496A1

MOUNTING CLIP

4шт.

11

KHR10220

MOUNTING CLIP

4шт.

Выбрано товаров: 12