Запчасти Case CX250D LC LR (35.359.AY[01]) - RELIEF VALVE, COMPONENTS (35) - HYDRAULIC SYSTEMS

Схема запчастей Case CX250D LC LR - (35.359.AY[01]) - RELIEF VALVE, COMPONENTS (35) - HYDRAULIC SYSTEMS
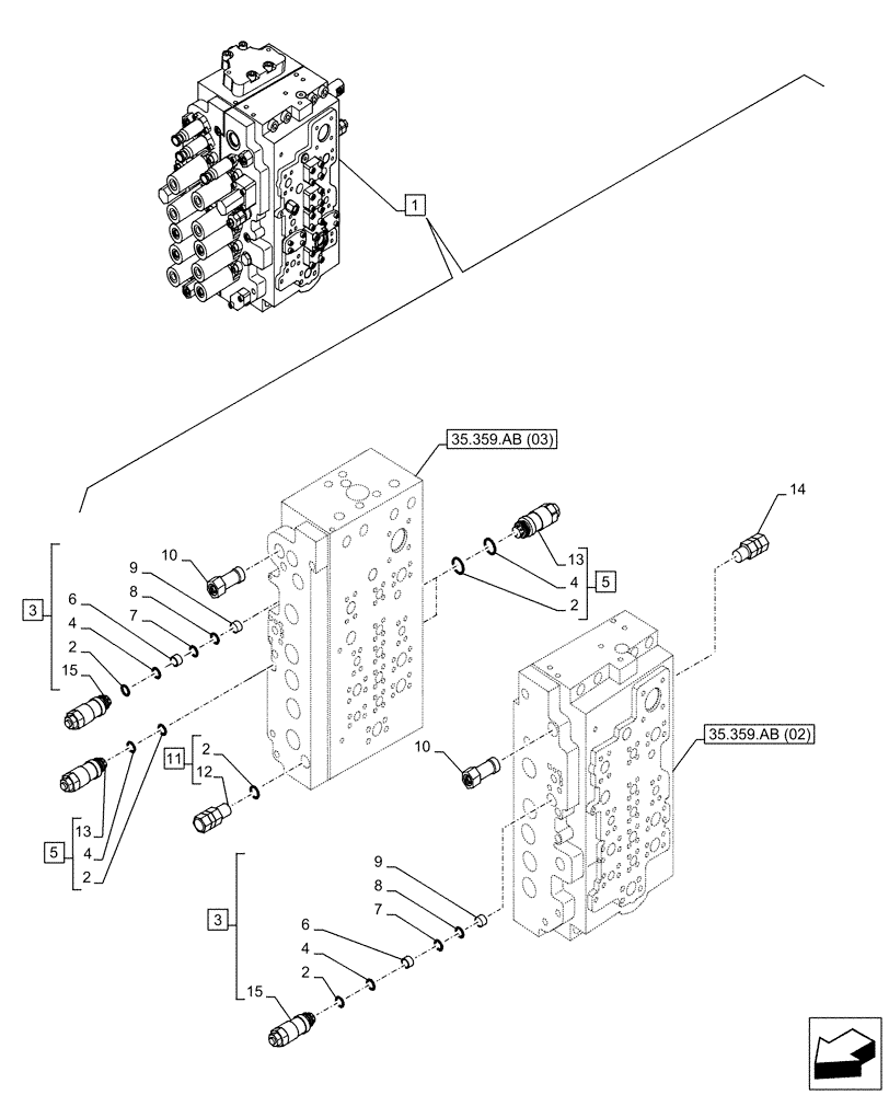
35.359.ab (03)
12
15
13
9
2
3
4
2
6
10
4
2
4
4
8
15
9
11
5
3
2
5
1
14
7
6
7
2
8
13
10
35.359.ab (02)
FIT
1:1
100%

Артикул

Название

Примечание

Количество

1

KBJ24220

VALVE

ASSY, Incl 2 - 15

1шт.

See also Figure 35.359.AB (01), 35.359.AB (02), 35.359.AB (03), 35.359.AB (04)

1шт.

2

155223A1

O-RING

6шт.

3

LJ00734

HYDRAULIC VALVE

ASSY, Incl 2 (Qty 1), 4 (Qty 1), 6 - 9, 15

2шт.

4

154463A1

O-RING

5шт.

5

LJ015020

VALVE PRESSURE RELIE

ASSY, Incl 2 (Qty 1), 4 (Qty 1), 13

3шт.

6

164905A1

BACK-UP RING

2шт.

7

164906A1

O-RING

1шт.

8

163323A1

O-RING

1шт.

9

164575A1

BACK-UP RING

2шт.

10

LJ022730

VALVE

2шт.

11

LJ022750

VALVE

ASSY, Incl 2 (Qty 1), 12

1шт.

12

NSS

NOT SOLD SEPARAT

Valve, Incl in 11

1шт.

13

NSS

NOT SOLD SEPARAT

Valve, Incl in 5

1шт.

14

LJ01193

VALVE, PRESSURE RELI

1шт.

15

NSS

NOT SOLD SEPARAT

Valve, Incl in 3

1шт.

Выбрано товаров: 16