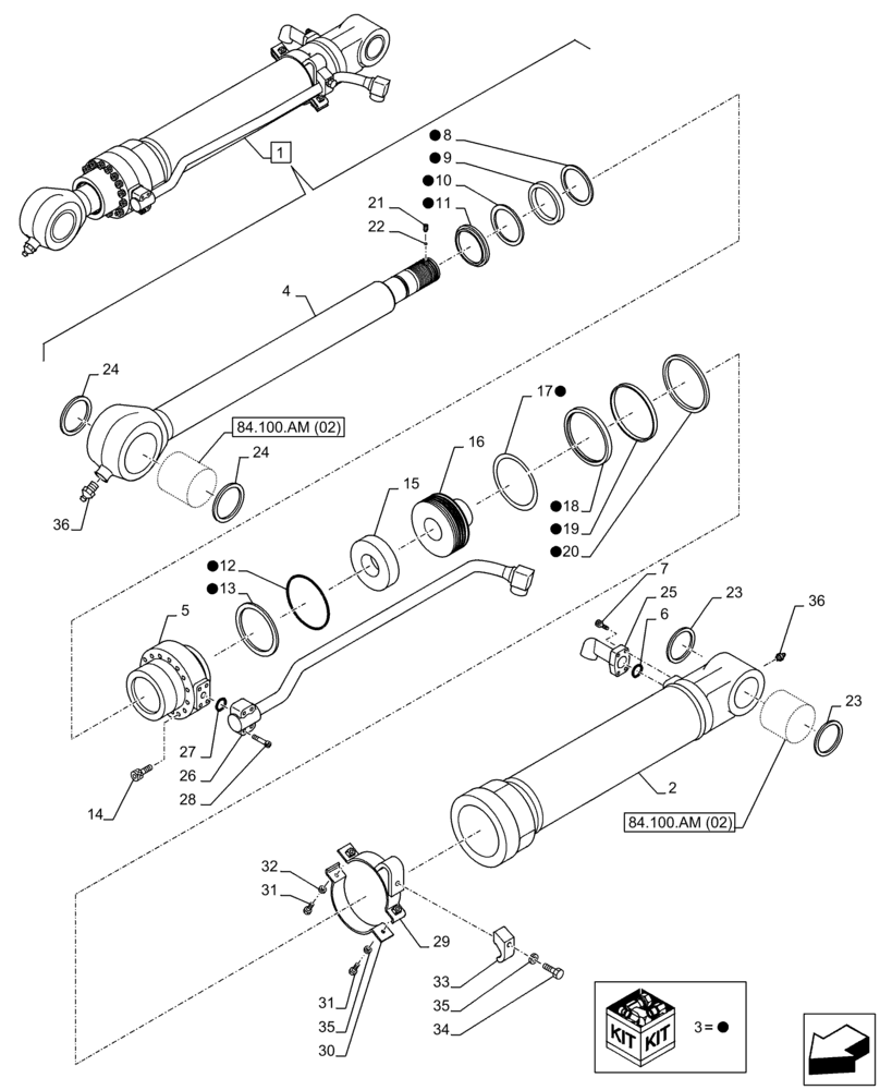
Запчасти Case CX250D LC LR (35.738.AA[02]) - VAR - 481238 - BUCKET CYLINDER, COMPONENTS (ARM L=8M) (35) - HYDRAULIC SYSTEMS

Схема запчастей Case CX250D LC LR - (35.738.AA[02]) - VAR - 481238 - BUCKET CYLINDER, COMPONENTS (ARM L=8M) (35) - HYDRAULIC SYSTEMS
13
35
3
27
16
3
22
31
9
3
25
15
3
34
35
21
84.100.am (02)
23
3
26
3
3
36
10
20
19
33
36
4
11
14
24
23
12
8
5
1
28
84.100.am (02)
30
29
7
31
32
3
2
3
3
3
18
24
6
17
3
FIT
1:1
100%

Артикул

Название

Примечание

Количество

1

KNV12541

BUCKET CYLINDER

ASSY, Incl 2 - 36

1шт.

See Also Figure 84.100.AM (02)

1шт.

1

KNV12541R

REMAN-HYD CYLINDER

Bucket

1шт.

1

KNV12541C

CORE-HYD CYLINDER

Return Number

1шт.

2

LZ008760

HYD CYL SLEEVE

1шт.

3

LZ010710

SEAL KIT

1шт.

4

LZ008770

PISTON ROD

1шт.

5

LU00079

CYLINDER END CAP

1шт.

6

154528A1

O-RING

1шт.

7

861-10030

HEX SOC SCREW,M10 x 30mm, Cl 12.9

4шт.

8

LE015600

RING

1шт.

9

LE015610

O-RING

1шт.

10

155230A1

BACK-UP RING

1шт.

11

LE019400

WIPER

1шт.

12

154705A1

O-RING

1шт.

13

160810A1

BACK-UP RING

1шт.

14

861-14055

HEX SOC SCREW,M14 x 55mm, Cl 12.9

10шт.

15

LE00735

RING

1шт.

16

LJ015400

PISTON

1шт.

17

160825A1

SEALING RING

1шт.

18

160814A1

BACK-UP RING

2шт.

19

LE015620

SEALING RING

2шт.

20

160829A1

RING

2шт.

21

156222A1

SCREW

1шт.

22

155976A1

BALL

1шт.

23

164445A1

RING

2шт.

24

164446A1

WIPER SEAL

2шт.

25

155516A1

TUBE

1шт.

26

LR016820

HYD TUBE

1шт.

27

154499A1

O-RING

1шт.

28

861-8025

HEX SOC SCREW,M8 x 25mm, Cl 12.9

4шт.

29

LD001640

CLAMP BRACKET

1шт.

30

161001A1

MOUNTING CLIP

1шт.

31

158131A1

BOLT,High Strength, M10 x 1.5 x 35mm, Cl 10.9

2шт.

32

156227A1

WASHER

2шт.

33

160874A1

CLAMP

1шт.

34

827-12050

BOLT,Hex, M12 x 1.75 x 50mm, Cl 10.9

1шт.

35

892-10012

LOCK WASHER,M12

1шт.

36

153630A1

LUBE NIPPLE

2шт.

Выбрано товаров: 39