Запчасти Case CX250D LC LR (88.100.35[078]) - DIA KIT, CLAMSHELL BUCKET, ROTATION, W/ ELECTRICAL PROPORTIONAL CONTROL, BOOM, LINE (88) - ACCESSORIES

Схема запчастей Case CX250D LC LR - (88.100.35[078]) - DIA KIT, CLAMSHELL BUCKET, ROTATION, W/ ELECTRICAL PROPORTIONAL CONTROL, BOOM, LINE (88) - ACCESSORIES
12
5
88.100.35 (093)
88.100.35 (082)
88.100.35 (093)
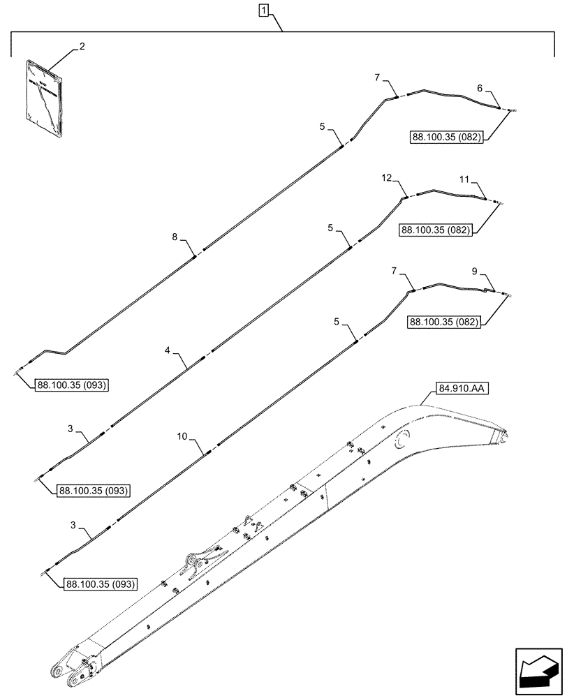
1
7
4
88.100.35 (082)
8
7
5
3
10
3
84.910.aa
6
11
9
88.100.35 (082)
2
5
88.100.35 (093)
FIT
1:1
100%

Артикул

Название

Примечание

Количество

1

KG1BP606-00

CONSTRUCTION DIA

Second Option Line Proportional, Incl 2 - 12

1шт.

To See Full DIA KIT Composition Look for all the Figures Where the DIA KIT P/N Is Shown

1шт.

2

47880446

INSTRUCTION

1шт.

2

47880494

INSTRUCTION

1шт.

3

KBV39330

TUBE

2шт.

4

KRV44210

PIPE

LH

1шт.

5

KBV39320

TUBE

3шт.

6

KBV39340

TUBE

RH

1шт.

7

KBV39350

TUBE

2шт.

8

KBV39360

TUBE

RH

1шт.

9

KBV39370

TUBE

Drain

1шт.

10

KRV44250

PIPE

Drain

1шт.

11

KBV39300

TUBE

LH

1шт.

12

KBV39310

TUBE

LH

1шт.

Выбрано товаров: 14