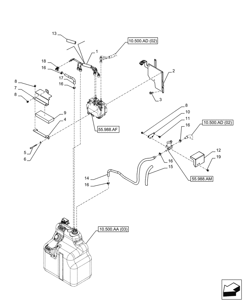
Запчасти Case CX250D LC LR (10.500.AD[03]) - DEF/ADBLUE™ LINES - BSN NGS7M1171 (10) - ENGINE

Схема запчастей Case CX250D LC LR - (10.500.AD[03]) - DEF/ADBLUE™ LINES - BSN NGS7M1171 (10) - ENGINE
10.500.aa (03)
11
8
8
8
15
16
4
17
14
16
16
1
13
9
6
16
10
5
19
12
2
16
18
55.988.af
55.988.am
10.500.ad (02)
10.500.ad (02)
3
7
FIT
1:1
100%

Артикул

Название

Примечание

Количество

1

KRH16840

PIPE

1шт.

2

KRH17311

BRACKET

1шт.

3

166352A1

BOLT

2шт.

4

KRH16890

BRACKET

, Serial Range: -C0071

1шт.

4

KRH16891

BRACKET

, Start Serial: D0071

1шт.

5

102R008Y090R

BOLT

3шт.

6

895-11008

WASHER,9mm ID x 16mm OD x 1.6mm Thk

3шт.

7

KRH16901

BRACKET

, Serial Range: -C0071

1шт.

7

KRH16902

BRACKET

, Start Serial: D0071

1шт.

8

166345A1

BOLT

1шт.

(Q.ty 7) for PN KBH12880; (Q.ty 5) for PN KNH13080

1шт.

9

KTN14670

INSULATION

1шт.

10

KBH12870

BRACKET

1шт.

11

166350A1

BOLT

2шт.

12

KBH12880

COVER

, Serial Range: -C0072

1шт.

12

KNH13080

COVER

, Start Serial: D0072

1шт.

13

KHH16610

INSULATION

1шт.

14

KRH16930

HOSE

1шт.

15

KHR21050

PLASTIC-RUBBER TUBE

1шт.

16

KHH16800

BAND

6шт.

17

KRH16920

HOSE

1шт.

18

KHH15490

ELBOW

1шт.

19

167518A1

BOLT

, Start Serial: D0072

2шт.

Выбрано товаров: 23