Запчасти Case CX290D LC SL (35.359.030) - VAR - 461863 - CONTROL VALVE, CLAMSHELL BUCKET, ROTATION, W/ ELECTRICAL PROPORTIONAL CONTROL, COMPONENTS (35) - HYDRAULIC SYSTEMS

Схема запчастей Case CX290D LC SL - (35.359.030) - VAR - 461863 - CONTROL VALVE, CLAMSHELL BUCKET, ROTATION, W/ ELECTRICAL PROPORTIONAL CONTROL, COMPONENTS (35) - HYDRAULIC SYSTEMS
35.359.020
8
10
4
8
12
6
10
13
8
3
15
9
12
8
4
8
8
12
12
12
16
5
7
13
8
12
12
8
2
1
8
2
9
11
14
4
12
6
4
2
12
4
9
12
3
10
8
35.359.020
FIT
1:1
100%

Артикул

Название

Примечание

Количество

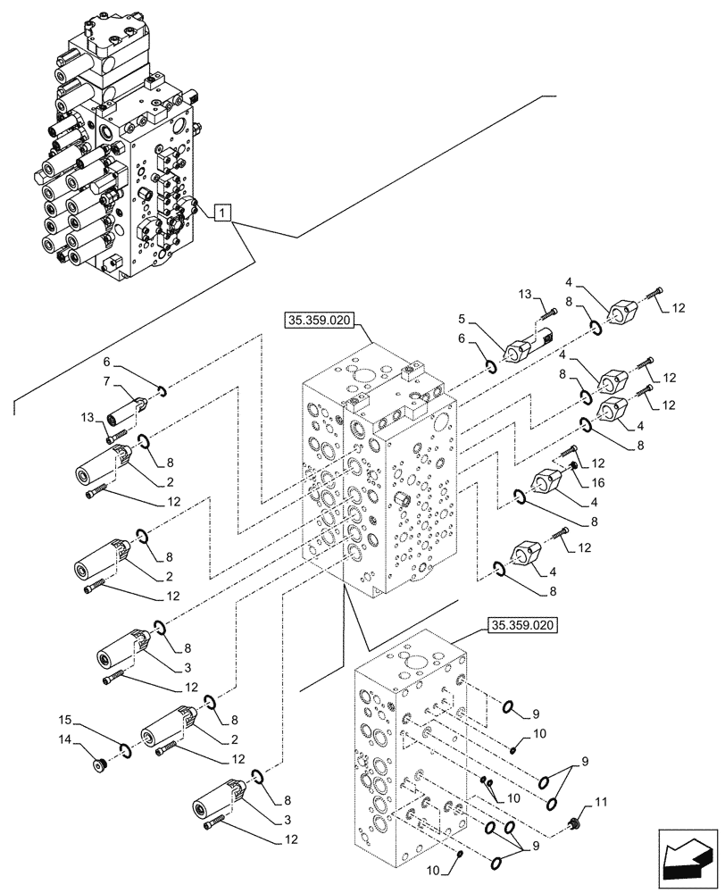
1

KBJ29190

CONTROL VALVE

ASSY, Incl 2 - 16

1шт.

See also Figure 35.359.020, 35.359.040, 35.359.050, 35.359.060

1шт.

2

LR023640

CAP

3шт.

3

LR023650

CAP

2шт.

4

LR023660

CAP

5шт.

5

LR023670

CAP

1шт.

6

LE014890

O-RING,3.53mm Thk x 25.7mm ID, Cl 6

2шт.

7

LR018610

CAP

1шт.

8

LE026800

O-RING

10шт.

9

LE025860

O-RING

10шт.

10

LE026750

O-RING

8шт.

11

163370A1

PLUG

1шт.

12

160287A1

BOLT,Hex Skt

20шт.

13

LUC0118

BOLT,Hex Skt Hd

4шт.

14

LK007800

PLUG

1шт.

15

LE026920

O-RING

1шт.

16

LK007810

PLUG

1шт.

Выбрано товаров: 17