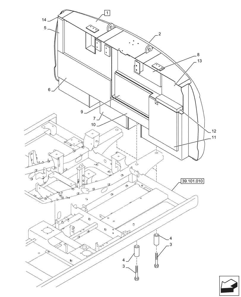
Запчасти Case CX290D LC SL (39.140.010) - COUNTERWEIGHT, INSULATION (39) - FRAMES AND BALLASTING

Схема запчастей Case CX290D LC SL - (39.140.010) - COUNTERWEIGHT, INSULATION (39) - FRAMES AND BALLASTING
39.101.010
6
2
9
7
4
13
11
1
4
12
3
14
3
8
5
10
FIT
1:1
100%

Артикул

Название

Примечание

Количество

1

KBB19670Y2

COUNTERWEIGHT

ASSY, Incl 2

1шт.

2

KRB23200

PLATE

1шт.

3

KHB10390

BOLT

M33 x 250mm

4шт.

4

KRB10590

SPACER

4шт.

5

KBB16150

INSULATION

1шт.

6

KRB1234

INSULATION

1шт.

7

KBB11690

NOISE PROTECTION

1шт.

8

KBB16121

INSULATION

1шт.

9

KBB14150

INSULATION

1шт.

10

KBB14160

INSULATION

1шт.

11

KBB14170

INSULATION

1шт.

12

KBB16130

INSULATION

1шт.

13

KBB16140

INSULATION

1шт.

14

KBB17460

INSULATION

1шт.

Выбрано товаров: 14