Запчасти Case CX290D LC SL (55.302.010) - BATTERY (55) - ELECTRICAL SYSTEMS

Схема запчастей Case CX290D LC SL - (55.302.010) - BATTERY (55) - ELECTRICAL SYSTEMS
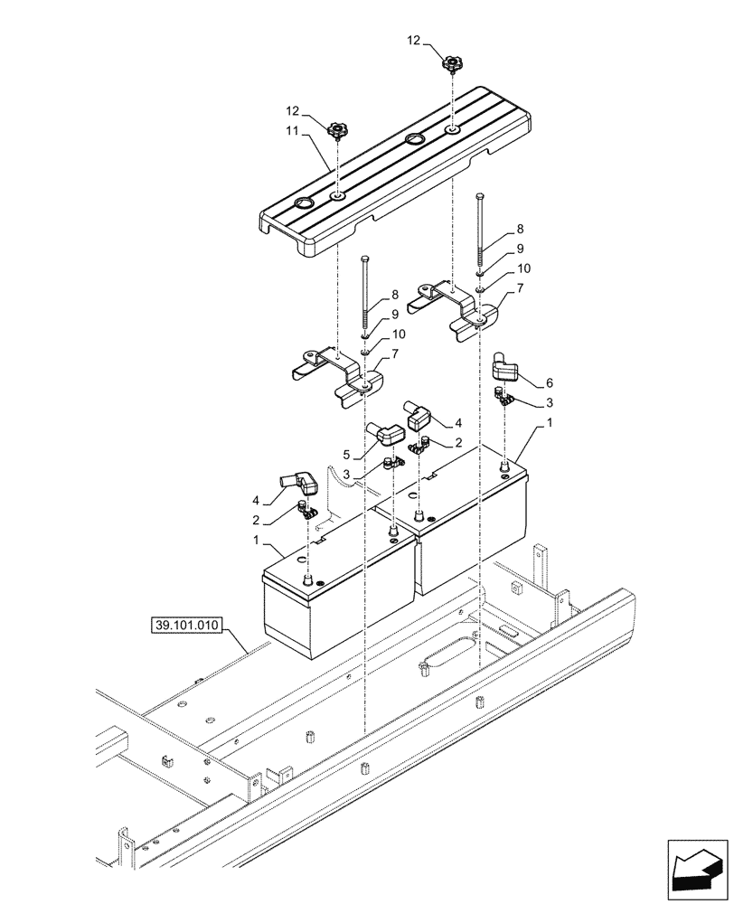
39.101.010
3
7
7
5
10
9
4
9
4
10
2
2
12
1
8
6
8
11
3
1
12
FIT
1:1
100%

Артикул

Название

Примечание

Количество

1

KHR3968

WET BATTERY

2шт.

2

158403A1

TERMINAL CONNECTOR

2шт.

3

150455A1

TERMINAL CONNECTOR

2шт.

4

166116A1

DUST CAP

2шт.

5

166117A1

DUST CAP

1шт.

6

150364A1

CAP

1шт.

7

KRR22120

HOLDER

2шт.

8

KRR20870

BOLT

M10 x 220mm

4шт.

9

892-11010

LOCK WASHER,M10

4шт.

10

150409A1

WASHER

M10

4шт.

11

KRR21870

COVER

1шт.

12

KHR39400

BOLT

M8 x 15mm

2шт.

Выбрано товаров: 12