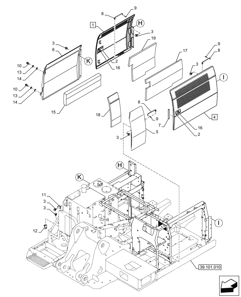
Запчасти Case CX290D LC SL (90.105.040) - STD + VAR - 488031 - HOUSING & COVERS, PRE-CLEANER CYCLONE TYPE (90) - PLATFORM, CAB, BODYWORK AND DECALS

Схема запчастей Case CX290D LC SL - (90.105.040) - STD + VAR - 488031 - HOUSING & COVERS, PRE-CLEANER CYCLONE TYPE (90) - PLATFORM, CAB, BODYWORK AND DECALS
39.101.010
15
11
8
1
12
2
14
9
3
9
3
10
3
6
8
16
3
9
13
14
17
18
3
2
7
16
4
3
13
8
19
10
5
FIT
1:1
100%

Артикул

Название

Примечание

Количество

1

KBN19650Y2

DOOR

ASSY, Incl 2 (Qty 1)

1шт.

2

KHN24510

LOCK

2шт.

3

152718A1

BOLT,Spcl, Hex Wshr, M12 x 25mm, Cl 10.9

17шт.

4

KBN19640Y2

DOOR

ASSY, Incl 2 (Qty 1)

1шт.

5

KBN24070Y2

DOOR

1шт.

6

KBN19660Y2

COVER

1шт.

7

KBN17460

SEAL

1шт.

8

KBN17140

STAY

3шт.

9

153181A1

COTTER PIN

3шт.

10

166352A1

BOLT

M12 x 30mm

2шт.

11

KHN12670

SUPPORT

1шт.

12

KNN14700

BRACKET

1шт.

13

162409A1

WASHER

2шт.

14

KHN28760

RUBBER WASHER

2шт.

15

KBN19760

SEAL

1шт.

16

KHN24530

LOCK CYLINDER

2шт.

17

KBN19951

INSULATION

1шт.

18

KBN17010

INSULATION

1шт.

19

KBN19960

INSULATION

1шт.

Выбрано товаров: 0