Запчасти Case CX290D LC SL (90.118.030) - REAR VIEW MIRROR (90) - PLATFORM, CAB, BODYWORK AND DECALS

Схема запчастей Case CX290D LC SL - (90.118.030) - REAR VIEW MIRROR (90) - PLATFORM, CAB, BODYWORK AND DECALS
90.150.040
8
9
2
7
3
7
6
11
1
6
5
8
10
1
7
1
12
4
1
6
90.150.010
90.118.010
FIT
1:1
100%

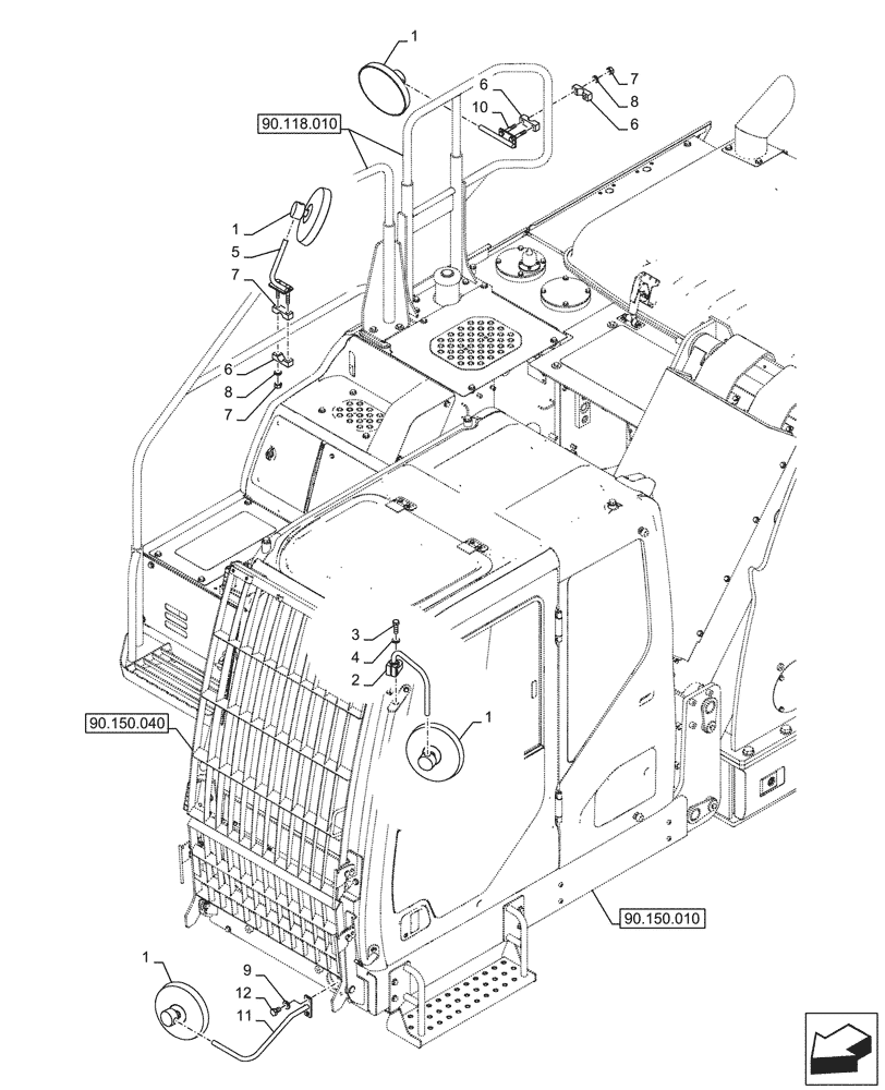
Артикул

Название

Примечание

Количество

1

KHP15130

REAR VIEW MIRROR

4шт.

2

KHP11350

SUPPORT

1шт.

3

KHP15020

BOLT,Hex

1шт.

4

157528A1

WASHER

1шт.

5

KHP23090

STAY

1шт.

6

KHP18570

CLAMP

4шт.

7

162R012VR

NUT

M12

4шт.

8

183-112VR

SPRING WASHER

4шт.

9

150811A1

WASHER

2шт.

10

KHP23080

STAY

1шт.

11

KHP20580

STAY

1шт.

12

627-12020

BOLT,Hex, M12 x 1.75 x 20mm, Cl 10.9, Full Thd

2шт.

Выбрано товаров: 12