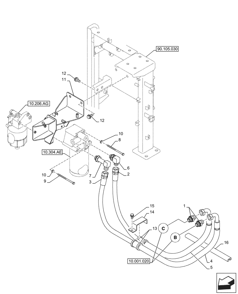
Запчасти Case CX290D LC SL (10.304.010) - ENGINE OIL FILTER, LINES (10) - ENGINE

Схема запчастей Case CX290D LC SL - (10.304.010) - ENGINE OIL FILTER, LINES (10) - ENGINE
90.105.030
12
5
13
4
15
1
9
14
12
7
6
10
3
2
10
8
16
11
10.304.ae
10.206.ag
10.001.020
FIT
1:1
100%

Артикул

Название

Примечание

Количество

1

KHH14620

ADAPTER

G3/4" x G3/4"

2шт.

2

KRH10330

HYDRAULIC HOSE,19.00 mm ID x 1350.00 mm

1350mm, From Engine to Oil Filter

1шт.

3

KBH10590

HYDRAULIC HOSE,19.00 mm ID x 1450.00 mm

1450mm, From Engine to Oil Filter

1шт.

4

KHR21080

PLASTIC-RUBBER TUBE

28mm ID

1шт.

5

KMR12260

PROTECTIVE SLEEVE

28mm ID x 580mm

1шт.

6

KHH14660

ELBOW

G3/4" x G3/4"

1шт.

7

KHH14690

ELBOW

G3/4"

1шт.

8

102R008Y110R

BOLT

M8 x 110mm

2шт.

9

KHH0515

BOLT

M8 x 140mm

2шт.

10

153081A1

WASHER

4шт.

11

KBH15820

BRACKET

1шт.

12

166352A1

BOLT

M12 x 30mm

4шт.

13

KHJ2023

HOSE CLAMP

2шт.

14

KHH13550

BRACKET

1шт.

15

166052A1

BOLT

M10 x 25mm

1шт.

16

150953A1

RUBBER BLOCK

1шт.

Выбрано товаров: 16