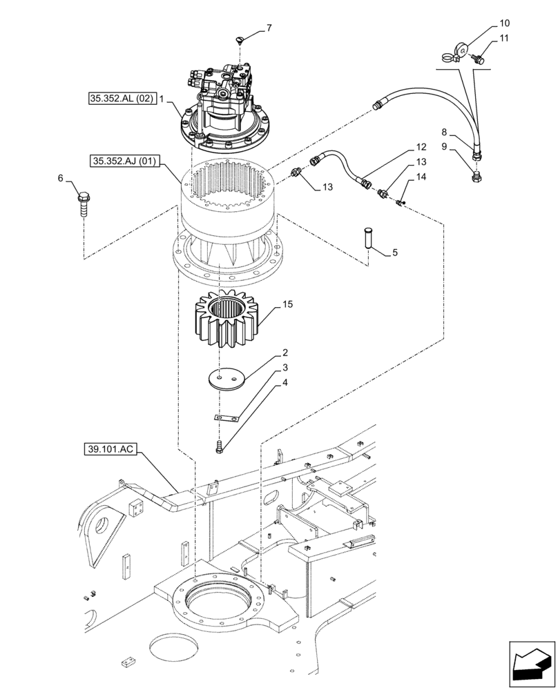
Запчасти Case CX300D LC (35.352.AL[01]) - SWING REDUCTION UNIT (35) - HYDRAULIC SYSTEMS

Схема запчастей Case CX300D LC - (35.352.AL[01]) - SWING REDUCTION UNIT (35) - HYDRAULIC SYSTEMS
2
3
6
7
39.101.ac
12
11
5
14
13
1
10
9
35.352.aj (01)
4
8
35.352.al (02)
13
15
FIT
1:1
100%

Артикул

Название

Примечание

Количество

1

KBC10200

HYDRAULIC MOTOR

ASSY

1шт.

1

KBC10200R

REMAN-HYD MOTOR

1шт.

1

KBC10200C

CORE-MOTOR HYDRAULIC

Return Number

1шт.

2

150285A1

PLATE, LOCKING

1шт.

3

167069A1

WASHER

1шт.

4

627-16040

BOLT,Hex, M16 x 2 x 40mm, Cl 10.9, Full Thd

2шт.

5

150317A1

HEADED PIN,24mm OD x 90mm L

, Serial Range: -C0252

1шт.

5

KRC11710

HEADED PIN

, Start Serial: D0252

1шт.

6

166477A1

BOLT,Sems, M24 x 90mm

12шт.

7

KHV12270

SCREW,M12 x 1

2шт.

8

KBJ23610

HYDRAULIC HOSE

1шт.

9

KHP0501

PLUG

1шт.

10

KHR2584

CLAMP

1шт.

11

KHJ1215

BOLT,Spcl

1шт.

12

KHJ1510

HYDRAULIC HOSE

1шт.

13

KRJ4050

ADAPTER

2шт.

14

153912A1

LUBE NIPPLE,90 Degree, 1/8"-27 NPT x 21.5mm lg

1шт.

15

KBC0124

GEAR

1шт.

Выбрано товаров: 18