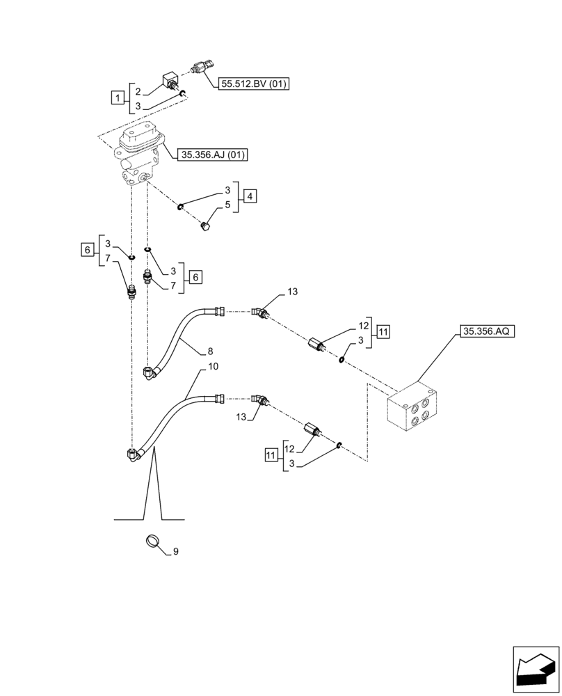
Запчасти Case CX300D LC (35.356.AR[03]) - PEDAL, DRAIN LINE (35) - HYDRAULIC SYSTEMS

Схема запчастей Case CX300D LC - (35.356.AR[03]) - PEDAL, DRAIN LINE (35) - HYDRAULIC SYSTEMS
7
5
11
3
3
55.512.bv (01)
3
13
4
6
7
1
3
12
3
9
13
35.356.aj (01)
6
10
35.356.aq
12
11
3
8
2
FIT
1:1
100%

Артикул

Название

Примечание

Количество

1

KHJ0719

ELBOW

ASSY, Incl 2, 3 (Qty 1)

1шт.

2

NSS

NOT SOLD SEPARAT

90°-Fitting, Incl in 1

1шт.

3

154467A1

O-RING,10.8mm ID x 2.4mm Width

6шт.

4

159002A1

PLUG

ASSY, Incl 3 (Qty 1), 5

1шт.

5

NSS

NOT SOLD SEPARAT

Plug, Incl in 4

1шт.

6

152127A1

HYD CONNECTOR,1/4" NPT O-Ring x 1/4" NPT

ASSY, Incl 3 (Qty 2), 7

2шт.

7

NSS

NOT SOLD SEPARAT

Fitting, Incl in 6

2шт.

8

KHJ2238

HOSE

6 x 320mm

1шт.

9

KHH0142

BAND

250mm

1шт.

10

KHJ2084

HOSE

6 x 350mm

1шт.

11

162525A1

STUD

ASSY, G1/4 X G1/4, Incl 3 (Qty 2), 12

2шт.

12

NSS

NOT SOLD SEPARAT

Fitting, Incl in 11

2шт.

13

KHJ28630

ELBOW

G1/4 x G1/4

2шт.

Выбрано товаров: 13