Запчасти Case CX300D LC (35.359.AB[01]) - CONTROL VALVE, MOUNTING, VALVE (35) - HYDRAULIC SYSTEMS

Схема запчастей Case CX300D LC - (35.359.AB[01]) - CONTROL VALVE, MOUNTING, VALVE (35) - HYDRAULIC SYSTEMS
39.101.ac
3
5
6
3
4
5
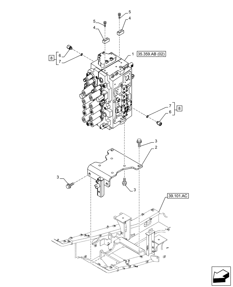
1
2
6
8
7
8
7
4
3
35.359.ab (02)
FIT
1:1
100%

Артикул

Название

Примечание

Количество

1

KBJ19212

CONTROL VALVE

Grey, ASSY

1шт.

See also Figure 35.359.AB (02), 35.359.AB (03), 35.359.AB (04), 35.359.AY (01)

1шт.

2

47809692

BRACKET

Grey

1шт.

3

47789344

BOLT

8шт.

4

47757504

BRACKET

2шт.

5

14422031

HEX SOC SCREW,M12 x 1.75 x 30mm, Cl 10.9, Full Thd

2шт.

6

NSS

NOT SOLD SEPARAT

Adapter, Incl in 8

2шт.

7

47759489

O-RING

2шт.

8

47758743

STUD

ASSY, Incl 6, 7

2шт.

Выбрано товаров: 9