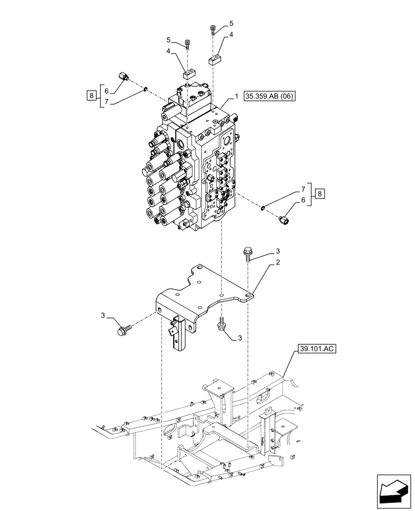
Запчасти Case CX300D LC (35.359.AB[05]) - VAR - 461863 - CONTROL VALVE, MOUNTING, CLAMSHELL BUCKET, ROTATION, W/ ELECTRICAL PROPORTIONAL CONTROL (35) - HYDRAULIC SYSTEMS

Схема запчастей Case CX300D LC - (35.359.AB[05]) - VAR - 461863 - CONTROL VALVE, MOUNTING, CLAMSHELL BUCKET, ROTATION, W/ ELECTRICAL PROPORTIONAL CONTROL (35) - HYDRAULIC SYSTEMS
39.101.ac
7
2
1
7
8
3
6
4
6
5
3
8
3
4
5
35.359.ab (06)
FIT
1:1
100%

Артикул

Название

Примечание

Количество

1

KBJ19222

CONTROL VALVE

Grey, ASSY

1шт.

See also Figure 35.359.AB (06), 35.359.AB (07), 35.359.AB (08), 35.359.AY (03)

1шт.

2

47809692

BRACKET

Grey

1шт.

3

47789344

BOLT

8шт.

4

47757504

BRACKET

2шт.

5

14422031

HEX SOC SCREW,M12 x 1.75 x 30mm, Cl 10.9, Full Thd

2шт.

6

NSS

NOT SOLD SEPARAT

Adapter, Incl in 8

2шт.

7

47759489

O-RING

2шт.

8

47758743

STUD

ASSY, Incl 6, 7

2шт.

Выбрано товаров: 9