Запчасти Case CX300D LC (88.100.35[034]) - DIA KIT, HAMMER CIRCUIT, W/ ELECTRICAL PROPORTIONAL CONTROL, SOLENOID VALVE, LINE, PRESSURE RELIEF VALVE, SENSOR (88) - ACCESSORIES

Схема запчастей Case CX300D LC - (88.100.35[034]) - DIA KIT, HAMMER CIRCUIT, W/ ELECTRICAL PROPORTIONAL CONTROL, SOLENOID VALVE, LINE, PRESSURE RELIEF VALVE, SENSOR (88) - ACCESSORIES
8
4
9
3
7
9
13
88.100.35 (031)
7
14
12
11
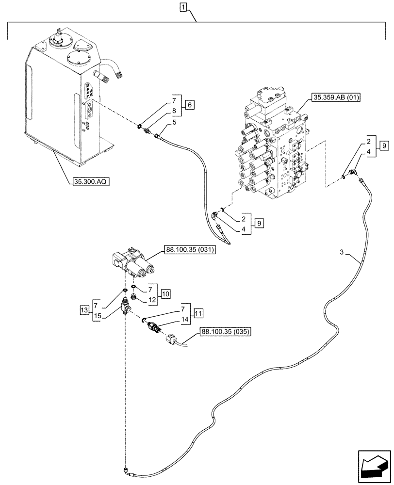
1
5
4
15
7
10
2
7
35.359.ab (01)
35.300.aq
2
88.100.35 (035)
6
FIT
1:1
100%

Артикул

Название

Примечание

Количество

1

KG1BP512-00

CONSTRUCTION DIA

Breaker Circuit Proportional Control Kit, Incl 2 - 15

1шт.

To See Full DIA KIT Composition Look for all the Figures Where the DIA KIT P/N Is Shown

1шт.

2

154475A1

O-RING

2шт.

3

KHJ17550

HOSE

Reducing Valve A2 Port to Control Valve PA2 Port, 6mm ID x 3350mm

1шт.

4

NSS

NOT SOLD SEPARAT

Elbow Incl in 9

2шт.

5

KHJ2055

HOSE

Hydraulic Oil Tank to Control Valve PB2 Port, 6mm ID x 1250mm

1шт.

6

152127A1

HYD CONNECTOR,1/4" NPT O-Ring x 1/4" NPT

G1/4", ASSY, Incl 7 (Qty 1), 8

1шт.

7

154467A1

O-RING,10.8mm ID x 2.4mm Width

4шт.

8

NSS

NOT SOLD SEPARAT

Fitting, Incl in 6

1шт.

9

KHJ28690

ELBOW

ASSY, Incl 2, 4

2шт.

10

159002A1

PLUG

A1 Port, G1/4", ASSY, Incl 7 (Qty 1), 12

1шт.

11

KHR26940

SENSOR

ASSY, Incl 7 (Qty 1), 14

1шт.

12

NSS

NOT SOLD SEPARAT

Plug, Incl in 10

1шт.

13

167666A1

FITTING

G1/4" x G1/4", ASSY, Incl 7 (Qty 1), 15

1шт.

14

NSS

NOT SOLD SEPARAT

Sensor, Incl in 11

1шт.

15

NSS

NOT SOLD SEPARAT

Fitting, Incl in 13

1шт.

Выбрано товаров: 16