Запчасти Case CX350D LC (35.356.AR[02]) - PEDAL, DRAIN LINE (35) - HYDRAULIC SYSTEMS

Схема запчастей Case CX350D LC - (35.356.AR[02]) - PEDAL, DRAIN LINE (35) - HYDRAULIC SYSTEMS
4
2
3
7
2
6
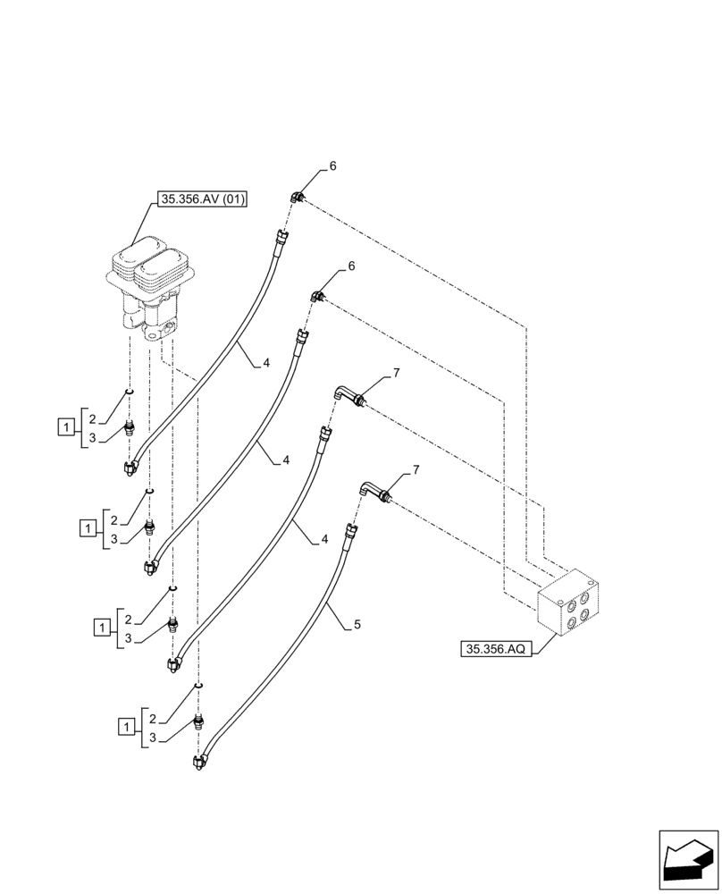
1
4
2
7
2
3
4
6
5
3
1
1
35.356.av (01)
35.356.aq
3
1
FIT
1:1
100%

Артикул

Название

Примечание

Количество

1

152127A1

HYD CONNECTOR,1/4" NPT O-Ring x 1/4" NPT

ASSY, Incl 2 - 3

4шт.

2

154467A1

O-RING,10.8mm ID x 2.4mm Width

4шт.

3

NSS

NOT SOLD SEPARAT

Fitting, Incl in 1

2шт.

4

KHJ2180

HOSE,6.3mm ID x 500mm L

3шт.

5

KHJ2239

HOSE,520.00 mm

6mm ID x 520mm

1шт.

6

KHJ28580

ELBOW

G1/4" x G1/4"

2шт.

7

KHJ28810

ELBOW

G1/4" x G1/4"

2шт.

Выбрано товаров: 7