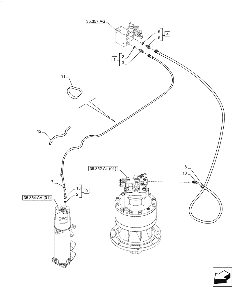
Запчасти Case CX350D LC (35.357.AO[02]) - MAIN, SOLENOID VALVE, PRESSURE PIPE (35) - HYDRAULIC SYSTEMS

Схема запчастей Case CX350D LC - (35.357.AO[02]) - MAIN, SOLENOID VALVE, PRESSURE PIPE (35) - HYDRAULIC SYSTEMS
35.354.aa (01)
2
12
2
5
3
6
7
1
11
10
8
13
9
4
35.352.al (01)
35.357.ag
FIT
1:1
100%

Артикул

Название

Примечание

Количество

1

152127A1

HYD CONNECTOR,1/4" NPT O-Ring x 1/4" NPT

ASSY, Incl 2 (Qty 1), 3

1шт.

2

154467A1

O-RING,10.8mm ID x 2.4mm Width

2шт.

3

NSS

NOT SOLD SEPARAT

Adapter, Incl in 1

1шт.

4

152128A1

HYD CONNECTOR,3/8" NPT O-Ring x 3/8" NPT

ASSY, Incl 5 - 6

1шт.

5

NSS

NOT SOLD SEPARAT

Adapter, Incl in 4

1шт.

6

154475A1

O-RING

1шт.

7

KHJ2076

HOSE,6mm ID x 2750mm L

6mm ID x 2750mm

1шт.

8

KHJ2207

HOSE

9mm ID x 2600mm

1шт.

9

KHJ28630

ELBOW

ASSY, Incl 13, 2 (Qty 1)

1шт.

10

KHJ28750

ELBOW

1шт.

11

150498A1

MOUNTING CLIP

300mm

4шт.

12

152660A1

PLASTIC-RUBBER TUBE

10mm ID x 300mm

1шт.

13

NSS

NOT SOLD SEPARAT

Fitting, Incl in 9

1шт.

Выбрано товаров: 13