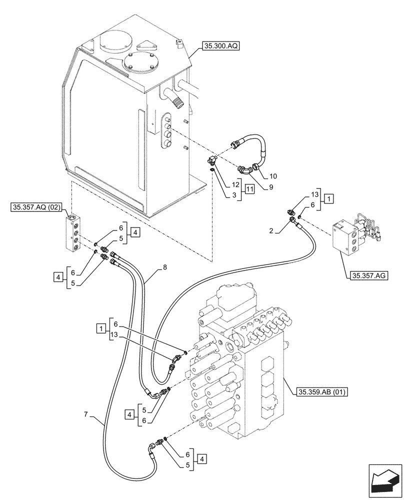
Запчасти Case CX350D LC (35.359.AE) - CONTROL VALVE LINE (35) - HYDRAULIC SYSTEMS

Схема запчастей Case CX350D LC - (35.359.AE) - CONTROL VALVE LINE (35) - HYDRAULIC SYSTEMS
35.357.aq (02)
4
6
6
6
1
4
7
8
6
2
9
5
3
13
11
5
10
1
6
6
12
4
13
5
4
5
35.357.ag
35.300.aq
35.359.ab (01)
FIT
1:1
100%

Артикул

Название

Примечание

Количество

1

KHJ28580

ELBOW

ASSY, Incl 13, 6 (Qty 1)

2шт.

2

KHJ16240

HYDRAULIC HOSE,6.35 mm ID x 2600.00 mm

6mm ID x 2600mm

1шт.

3

154487A1

O-RING

1шт.

4

152127A1

HYD CONNECTOR,1/4" NPT O-Ring x 1/4" NPT

ASSY, Incl 5, 6 (Qty 1)

4шт.

5

NSS

NOT SOLD SEPARAT

Fitting, Incl in 4

4шт.

6

154467A1

O-RING,10.8mm ID x 2.4mm Width

6шт.

7

KHJ2093

HOSE

6mm ID x 1150mm

1шт.

8

KHJ2239

HOSE,520.00 mm

6mm ID x 520mm

1шт.

9

KHJ28600

ELBOW

1шт.

10

KEJ0380

HYDRAULIC HOSE

12mm ID x 330mm

1шт.

11

KHJ10240

HOSE ASSY.

ASSY, Incl 3 - 12

1шт.

12

NSS

NOT SOLD SEPARAT

T - Fitting, Incl in 11

1шт.

13

NSS

NOT SOLD SEPARAT

Fitting, Incl in 1

2шт.

Выбрано товаров: 13