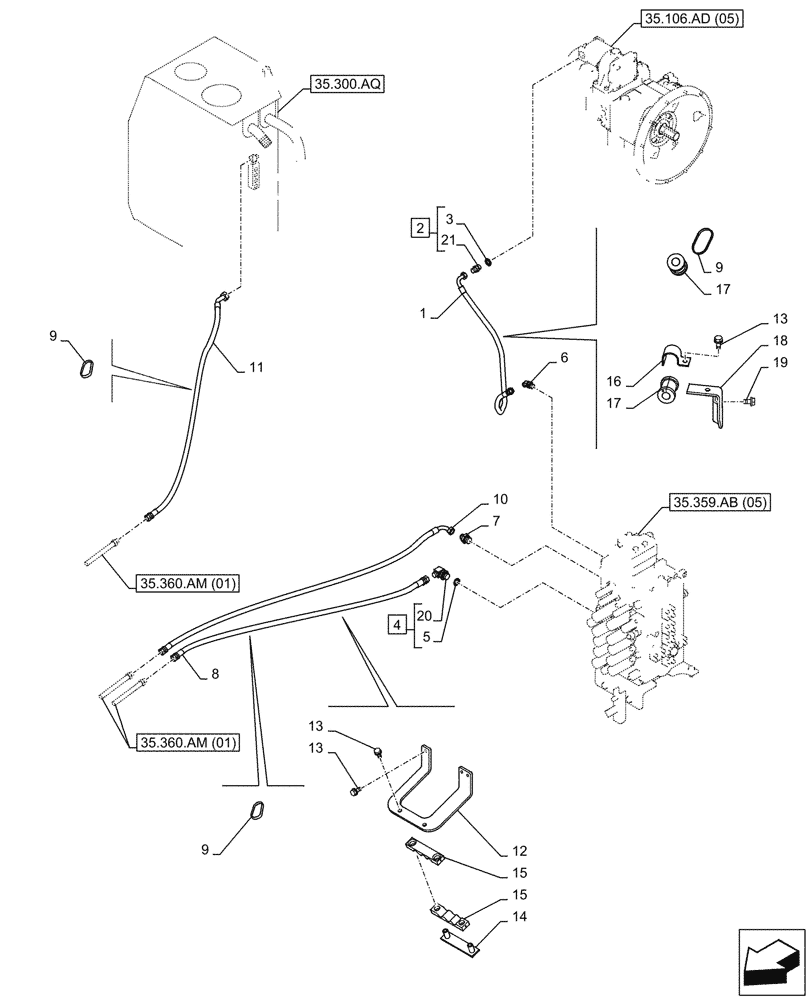
Запчасти Case CX350D LC (35.360.AF[01]) - VAR - 461863 - HYDRAULIC LINE, CLAMSHELL BUCKET, ROTATION, W/ ELECTRICAL PROPORTIONAL CONTROL (35) - HYDRAULIC SYSTEMS

Схема запчастей Case CX350D LC - (35.360.AF[01]) - VAR - 461863 - HYDRAULIC LINE, CLAMSHELL BUCKET, ROTATION, W/ ELECTRICAL PROPORTIONAL CONTROL (35) - HYDRAULIC SYSTEMS
35.359.ab (05)
7
16
14
5
21
3
9
10
20
17
15
1
9
9
11
8
19
13
17
12
15
13
6
13
2
4
18
35.300.aq
35.360.am (01)
35.360.am (01)
35.106.ad (05)
FIT
1:1
100%

Артикул

Название

Примечание

Количество

1

KBJ2878

HYDRAULIC HOSE

1шт.

2

151650A1

HYD CONNECTOR,1/2" NPT O-Ring x 1/2" NPT

ASSY, Incl 3, 21

1шт.

3

154487A1

O-RING

1шт.

4

157936A1

ELBOW

ASSY, Incl 5, 20

1шт.

5

154503A1

O-RING

1шт.

6

KHJ28650

ELBOW

1шт.

7

168988A1

ADAPTER

1шт.

8

KSJ19030

HYDRAULIC HOSE

1шт.

9

150496A1

MOUNTING CLIP

1шт.

10

KSJ19040

HYDRAULIC HOSE

1шт.

11

KSJ19050

, Serial Range: -C0385

1шт.

11

KSJ22570

HYDRAULIC HOSE

, Start Serial: D0385

1шт.

12

KSJ19060

BRACKET

1шт.

13

166052A1

BOLT

6шт.

14

KRJ11590

SUPPORT

1шт.

15

KRJ11580

HOSE CLIP

2шт.

16

KHJ2025

CLAMP

1шт.

17

KHJ2021

HOSE CLAMP

2шт.

18

KSJ21690

BRACKET

1шт.

19

166351A1

BOLT,Sems, M10 x 20mm

2шт.

20

NSS

NOT SOLD SEPARAT

90° Fitting, Incl in 4

1шт.

21

NSS

NOT SOLD SEPARAT

Fitting,Incl in 2

1шт.

Выбрано товаров: 22