Запчасти Case CX350D LC (39.103.AF) - SLEWING RING, MOUNTING, BOLT (39) - FRAMES AND BALLASTING

Схема запчастей Case CX350D LC - (39.103.AF) - SLEWING RING, MOUNTING, BOLT (39) - FRAMES AND BALLASTING
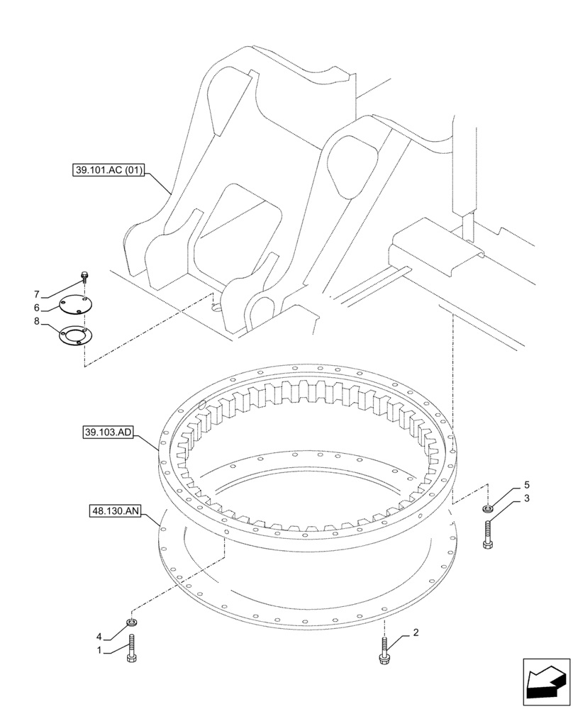
7
5
1
39.103.ad
39.101.ac (01)
4
2
6
48.130.an
8
3
FIT
1:1
100%

Артикул

Название

Примечание

Количество

1

827-24140

BOLT,Hex, M24 x 3 x 140mm, Cl 10.9

39шт.

2

166477A1

BOLT,Sems, M24 x 90mm

46шт.

3

KBB11870

BOLT,Spcl

2шт.

4

150822A1

WASHER,25mm ID x 48mm OD x 6mm Thk

39шт.

5

157544A1

WASHER

2шт.

6

KHB13480Y2

PLATE

1шт.

7

152718A1

BOLT,Spcl, Hex Wshr, M12 x 25mm, Cl 10.9

3шт.

8

158930A1

CORK SEAL

1шт.

Выбрано товаров: 8