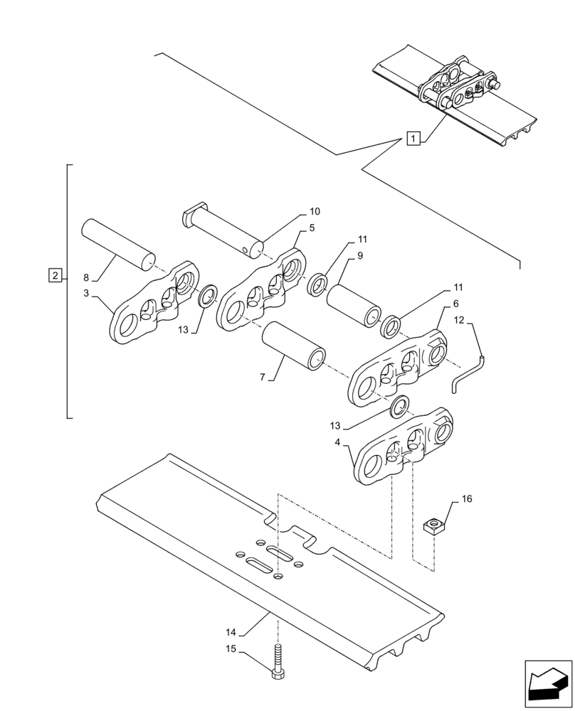
Запчасти Case CX350D LC (48.100.AD[06]) - VAR - 956000 - TRACK CHAIN, COMPONENTS (L=850MM) (48) - TRACKS & TRACK SUSPENSION

Схема запчастей Case CX350D LC - (48.100.AD[06]) - VAR - 956000 - TRACK CHAIN, COMPONENTS (L=850MM) (48) - TRACKS & TRACK SUSPENSION
11
2
14
8
12
7
1
9
6
15
4
13
16
10
13
5
11
3
FIT
1:1
100%

Артикул

Название

Примечание

Количество

1

KSA10490

CHAIN GUIDE

ASSY, Incl 2 -16

2шт.

2

KSA10460

CHAIN (CE)

ASSY, Incl 3 - 12

2шт.

3

KSA1109

CHAIN LINK

94шт.

4

KSA1110

CHAIN LINK

94шт.

5

KSA1111

CHAIN LINK

2шт.

6

KSA1112

CHAIN LINK

2шт.

7

KSA10430

BUSHING

94шт.

8

KSA1114

PIN

94шт.

9

KSA1115

BUSHING

2шт.

10

KSA1116

HEADED PIN

2шт.

11

KSA1117

RING

4шт.

12

KSA1118

SPLIT PIN/SAFETY PIN

2шт.

13

KSA10440

SEAL

188шт.

14

KSA1267

TRACK SHOE

96шт.

15

KSA1107

BOLT

384шт.

16

KSA1108

NUT

384шт.

Выбрано товаров: 0