Запчасти Case CX350D LC (55.011.AE) - VAR - 481257 - FUEL TRASFER PUMP (55) - ELECTRICAL SYSTEMS

Схема запчастей Case CX350D LC - (55.011.AE) - VAR - 481257 - FUEL TRASFER PUMP (55) - ELECTRICAL SYSTEMS
12
20
3
4
16
5
19
6
10.216.ai
12
10.210.af
11
7
14
13
2
18
10
20
8
17
1
15
8
9
10.210.af
10
FIT
1:1
100%

Артикул

Название

Примечание

Количество

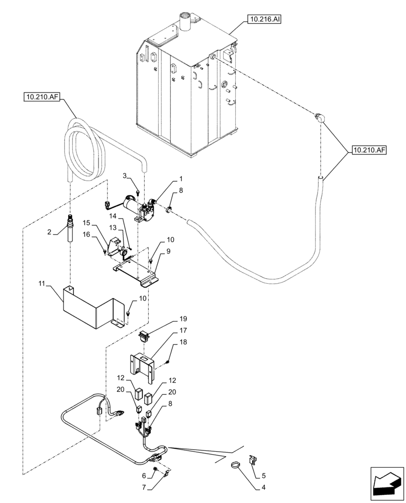
1

KHR12840

FUEL PUMP

50 L/Min

1шт.

2

KHR12430

VALVE SECTION

1шт.

3

166347A1

BOLT,Sems, M10 x 30mm

M10 x 30mm

2шт.

4

150496A1

MOUNTING CLIP

250mm

6шт.

5

KHR10220

MOUNTING CLIP

6шт.

6

KHJ1215

BOLT,Spcl

M8 x 25mm

1шт.

7

KHR16450

CLIP

1шт.

8

KHR34760

WIRE HARNESS

1шт.

9

KHR12860

SUPPORT

1шт.

10

166351A1

BOLT,Sems, M10 x 20mm

M10 x 20mm

5шт.

11

KHR39430

COVER

1шт.

12

159904A1

COVER

2шт.

13

KHR4024

ALARM

1шт.

14

KHR1832

SPECIAL BOLT

M5 x 25mm

1шт.

15

KHR39440

BRACKET

1шт.

16

166345A1

BOLT

M8 x 16mm

2шт.

17

KHR15080

COVER

1шт.

18

159602A1

BOLT,Sems, Hex, M6 x 16mm

M6 x 16mm

2шт.

19

KHR12900

SWITCH

1шт.

20

KHR3802

RELAY

24 V

2шт.

Выбрано товаров: 20