Запчасти Case CX350D LC (88.100.35[108]) - DIA KIT, CLAMSHELL BUCKET, ROTATION, W/ ELECTRICAL PROPORTIONAL CONTROL, HYDRAULIC LINE (88) - ACCESSORIES

Схема запчастей Case CX350D LC - (88.100.35[108]) - DIA KIT, CLAMSHELL BUCKET, ROTATION, W/ ELECTRICAL PROPORTIONAL CONTROL, HYDRAULIC LINE (88) - ACCESSORIES
35.357.aq (02)
7
9
20
4
1
5
9
10
3
15
13
13
3
14
11
18
35.359.ab (05)
35.106.ad (05)
16
13
17
23
2
17
9
19
21
22
15
6
8
12
24
88.100.35 (104)
88.100.35 (104)
FIT
1:1
100%

Артикул

Название

Примечание

Количество

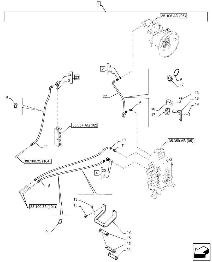
1

KG1SP087-00

CONSTRUCTION DIA

Second Option Line Proportional, Incl 2 - 24

1шт.

To See Full DIA KIT Composition Look for all the Figures Where the DIA KIT P/N Is Shown

1шт.

2

151650A1

HYD CONNECTOR,1/2" NPT O-Ring x 1/2" NPT

ASSY, Incl 3 (Qty 1), 21

1шт.

3

154487A1

O-RING

2шт.

4

157936A1

ELBOW

ASSY, Incl 5, 20

1шт.

5

154503A1

O-RING

1шт.

6

KHJ28650

ELBOW

1шт.

7

168988A1

ADAPTER

1шт.

8

KSJ19030

HYDRAULIC HOSE

1шт.

9

150496A1

MOUNTING CLIP

250mm

8шт.

10

KSJ19040

HYDRAULIC HOSE

1шт.

11

KSJ22570

HYDRAULIC HOSE

1шт.

12

KSJ19060

BRACKET

1шт.

13

166052A1

BOLT

6шт.

14

KRJ11590

SUPPORT

1шт.

15

KRJ11580

HOSE CLIP

2шт.

16

KHJ2025

CLAMP

1шт.

17

KHJ2021

HOSE CLAMP

2шт.

18

KSJ21690

BRACKET

1шт.

19

166351A1

BOLT,Sems, M10 x 20mm

2шт.

20

NSS

NOT SOLD SEPARAT

90° Fitting, Incl in 4

1шт.

21

NSS

NOT SOLD SEPARAT

Fitting, Incl in 2

1шт.

22

KBJ2878

HYDRAULIC HOSE

1шт.

23

169309A1

TEE

ASSY, Incl 3 (Qty 1), 24

1шт.

24

NSS

NOT SOLD SEPARAT

Tee, Incl in 23

1шт.

Выбрано товаров: 25