Запчасти Case CX350D LC (88.100.35[173]) - DIA KIT, HAMMER CIRCUIT, HIGH FLOW, SHEARS, W/ ELECTRICAL PROPORTIONAL CONTROL, BOOM, LINE (88) - ACCESSORIES

Схема запчастей Case CX350D LC - (88.100.35[173]) - DIA KIT, HAMMER CIRCUIT, HIGH FLOW, SHEARS, W/ ELECTRICAL PROPORTIONAL CONTROL, BOOM, LINE (88) - ACCESSORIES
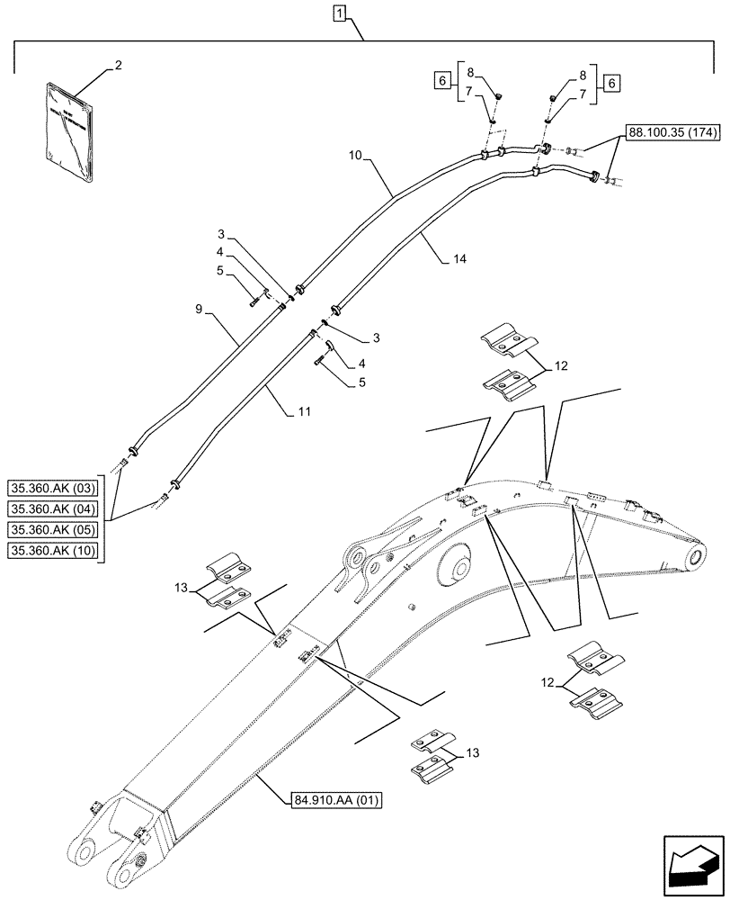
84.910.aa (01)
35.360.ak (04)
6
12
7
13
4
4
14
9
10
3
13
35.360.ak (05)
12
5
6
3
11
8
35.360.ak (10)
7
88.100.35 (174)
5
1
35.360.ak (03)
2
8
FIT
1:1
100%

Артикул

Название

Примечание

Количество

1

KG1SP081-00

CONSTRUCTION DIA

Multi-Purpose with 3 Way Valve, Incl 2 - 14

1шт.

To See Full DIA KIT Composition Look for all the Figures Where the DIA KIT P/N Is Shown

1шт.

2

47757381

INSTRUCTION

1шт.

2

47757372

INSTRUCTION

1шт.

3

153626A1

O-RING

2шт.

4

150124A1

FLANGE

4шт.

5

862-14050

HEX SOC SCREW,M14 x 50mm, Cl 12.9

8шт.

6

152924A1

PLUG

ASSY, Incl 7, 8

3шт.

7

150542A1

O-RING

3шт.

8

NSS

NOT SOLD SEPARAT

Plug, Incl in 6

3шт.

9

KSV24560

PIPE

1шт.

10

KSV24571

PIPE

1шт.

11

KSV24530

PIPE

1шт.

12

KHV11200

PIPE CLAMP

8шт.

13

KHV11060

COLLAR CLAMP

4шт.

14

KSV24541

PIPE

1шт.

Выбрано товаров: 16